Header Ground Pressure

Header Ground Pressure (Autofloat) allows the operator to establish a float set point.

Activation buttons 1, 2 and 3, located on the multi-function lever, can be used for selecting three different header pressures.

NOTE: If both Resume to Cut and Header Ground Pressure are enabled, activation buttons 1 and 2 will activate Resume to Cut. Activation button 3 will be assigned to Header Ground Pressure.

Operation:

Header Ground Pressure mode can be activated only when:

1. The engine is running
2. The road safety switch is in the field position
3. Header Ground Pressure mode is enabled
4. The header engage switch is engaged


1-Activation Button
2-Activation Button
3-Activation Button

ZX018977
ZX021835

OUZXMAG,000076F -19-05SEP00-1/2


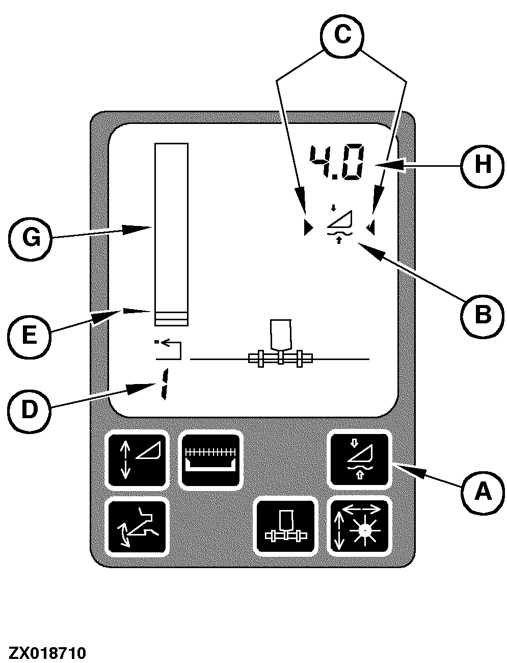
The Header Ground Pressure system is enabled by pressing switch (A) on the corner post display unit. The Header Ground Pressure symbol (B) will appear on the display.

Activate the Header Ground Pressure system by pressing one of the activation buttons 1,2 or 3 on the multi-function lever. Arrows (C) on each side of the symbol indicate that the system is active.

The number (D) in the lower left corner of the display indicates which activation button was pushed.

If you wish to change the pressure setpoint (E) of any of the activation buttons, press the desired activation buttons and adjust the pressure using the ground pressure control dial (F) to move the pressure setpoint and to reduce the header ground pressure (raise header) or to increase the header ground pressure (lower header).

Turning the dial towards the (+) symbol will reduce the header ground pressure (raise the header). Turning the dial towards the (-) symbol will increase the header ground pressure (lower the header).

Bar graph (G) and number display (H) show the ground pressure.

Units are kPa for metric system and psi for English system

Manually raising the header with switch (I) on the multi-function lever will turn off the Header Ground Pressure function.

Pressing any of the activation buttons will re-activate the system and the header will move to the selected pressure.

The Header Ground Pressure system can be disabled by pressing switch (A).

ZX018710
ZX021840


A-Header Ground Pressure Switch
B-Header Ground Pressure Symbol
C-Arrows
D-Display Number
E-Pressure Setpoint
F-Pressure Control Dial
G-Bar Graph
H-Number (in bar)
I-Header Raise/Lower Switch

OUZXMAG,000076F -19-05SEP00-2/2