Lateral Tilt Sensor Link Adjustment (Hillmaster Combine Only)

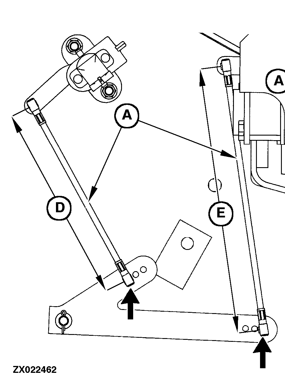
Sensor links (A) need to be adjusted when notch (B) is not vertical while symbol (C) indicates the feederhouse is horizontal.

Adjust length (D) and (E) of links (A) and make sure links are positioned in correct holes (see arrows) as shown opposite.

When the notch (B) is vertical (the header is approximately level with the combine body) and symbol (C) indicates the feederhouse is horizontal, sensor links (A) are adjusted correctly.


A-Sensor Links
B-Notch
C-Symbol
D-218 mm (8.58 in.)
E-293 mm (11.53 in.)

ZX022462
ZX022461
ZX019056

OUZXMAG,00007E8 -19-11OCT00-1/1