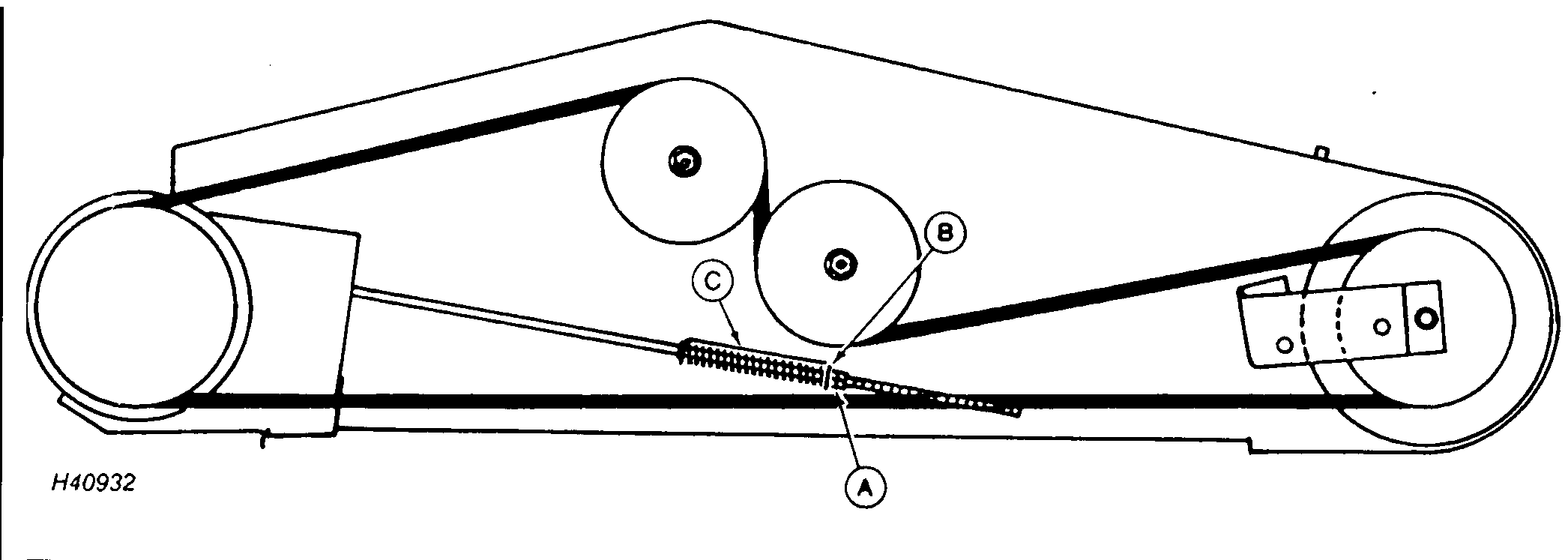
Adjusting Fixed Speed Feeder House Belt

H40932

Tighten nuts (A) until washer (B) aligns with end of gauge (C).

ZX,OMCTS012627 -19-01SEP98-1/1