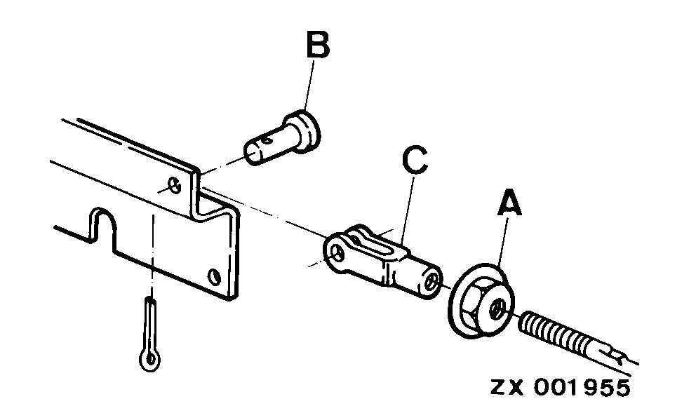
Retensioning Guide Cable

At the l.h. side attaching point the guide cable can be retensioned.

Loosen lock nut (A)

Remove pin (B)

Screw in yoke (C) until pin (B) can still be easily installed.

ZX001955

OUZXMAG,00007FF -19-21NOV00-1/1