Changing Starting Fluid Cans

causym CAUTION: Starting fluid is highly flammable. DO NOT use near fire, sparks, or flames. Read the caution information on the container. Protect container against damage. DO NOT carry extra or empty ether cans inside operator's cab.

Pressurized cans of starting fluid are available from your John Deere dealer. Protect starting fluid can from damage or extreme heat.

Remove safety cap and plastic spray nozzle from new can.

On John Deere Engines:

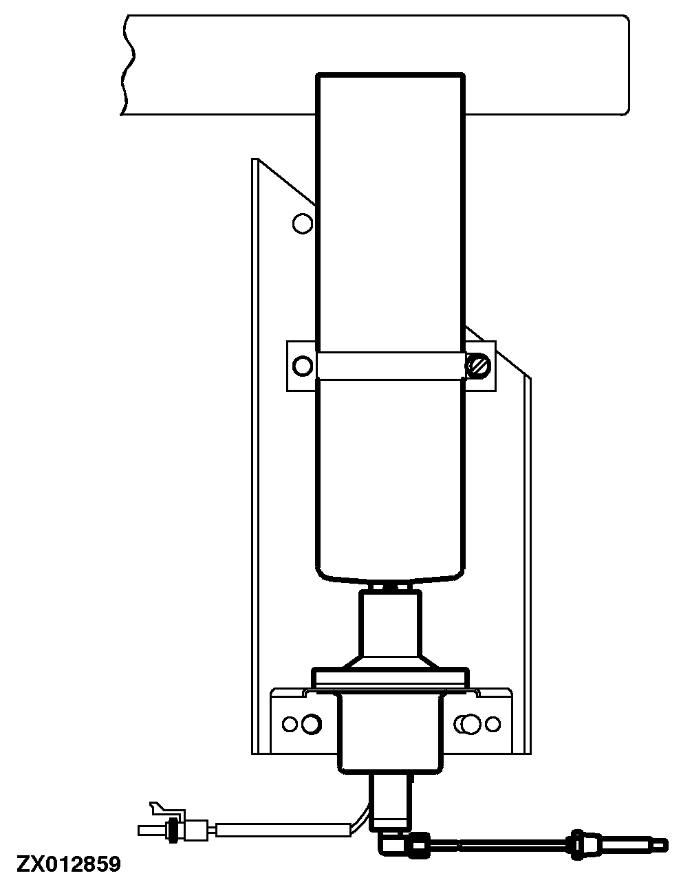
Loosen canister to remove old can.

Install new can and tighten canister.

IMPORTANT: To avoid drawing dust into engine, always keep a starting fluid can in position, or clean bottom of canister and install bottom side up.

On Cummins Engines:

Loosen clamp and unscrew old can.

Install new can and secure with clamp.

IMPORTANT: To avoid drawing dust into engine, always keep a starting fluid can in position, or install dust cap. Make sure not to lose dust cap when not installed.

ZX012858

8.1 L Engine

ZX022311

12.5 L Engine

ZX012859

14 L Engine

OUZXMAY,00002E7 -19-16SEP00-1/1