Aligning Knife Sharpening Device

Open the grinding plate with the crank (A).

ZX022335

OUZXMAY,0000306 -19-25SEP00-1/7


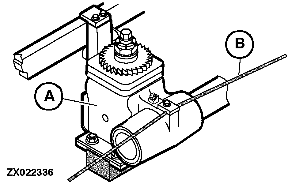
Release the guide block (A) from the cable (B).

ZX022336

OUZXMAY,0000306 -19-25SEP00-2/7


Lower the sharpening stone 1/2 rotation (15 teeth) from the upper end position with the help of the feeding spindle.

ZX022337

OUZXMAY,0000306 -19-25SEP00-3/7


Release the guide shaft (A) and the guide rail (B) of the sharpening device until it is movable.

ZX022339
ZX022338

OUZXMAY,0000306 -19-25SEP00-4/7


Put the sharpening stone alternately on the outer cutter rows of the cutterhead (the top) to align the guide shaft. Then tighten the bearing quills (A) and (B) of the guide shaft (C).

Turn back the sharpening stone until the cutterhead is able to rotate freely, if the guide block is moved manually over the cutterhead width. Adjust the guide shaft, if necessary.

ZX022340
ZX022341

OUZXMAY,0000306 -19-25SEP00-5/7


Align the guide rail (A) so that it is parallel to the guide shaft, take care that the guide block can be moved freely and without play on rod by hand before retightening the guide rail. Remove or add shims (1/10 mm or 3/10 mm), if necessary.

ZX022342

OUZXMAY,0000306 -19-25SEP00-6/7


Adjust the right stop screw (A) limiting the movement of the guide block and the setting screw (B) on the ratchet so that during the sharpening procedure the cam wheel of the feeding mechanism can be turned around only one tooth during the programmed movement of the linear motor.

After alignment of the sharpening device, move the sharpening stone back to the upper end position.

ZX022343

OUZXMAY,0000306 -19-25SEP00-7/7