Replacing the Fuel Filter Element, John Deere POWERTECH® 8.1 L Engine

causym CAUTION: To prevent a possible fire hazard, remove the ignition key before servicing filters. Avoid fire hazards!

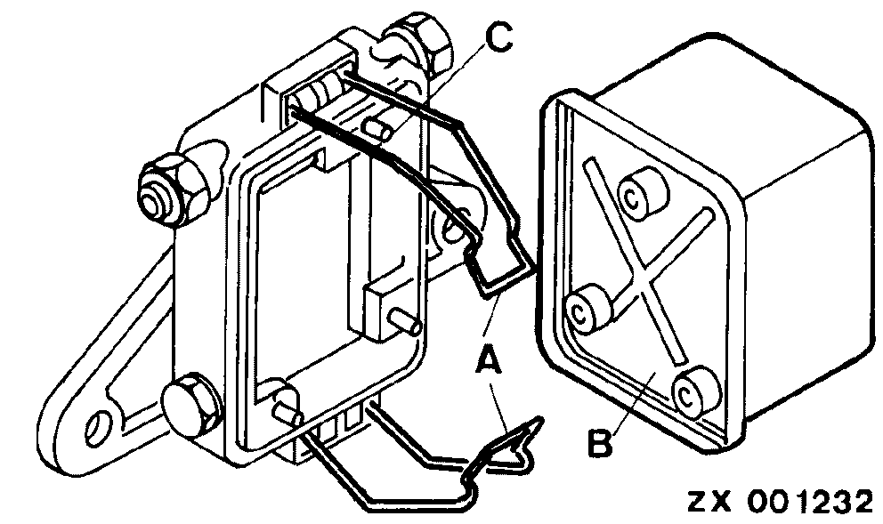
IMPORTANT: Impurities trapped in the groove or in the cavity of spring pin (C) might be flushed into the injection system where they could damage the pump or injectors.

Replace filter elements depending on contamination but at the latest after 250 hours of operation.

NOTE: Change water filter separator before changing the filter. This element may be clogged, in which case no filter change is necessary.

Close shut-off valve at fire wall.

To empty filter element, slacken off bleed screw and remove drain screw.

Release retaining springs (A).

Pull off filter (B) and install new filter.

Bleed air from filter every time the filter is changed and whenever the fuel system has run dry as a result of a fuel shortage.

ZX001232

POWERTECH is a trademark of Deere & Company.

OUZXMAY,000031F -19-06OCT00-1/1