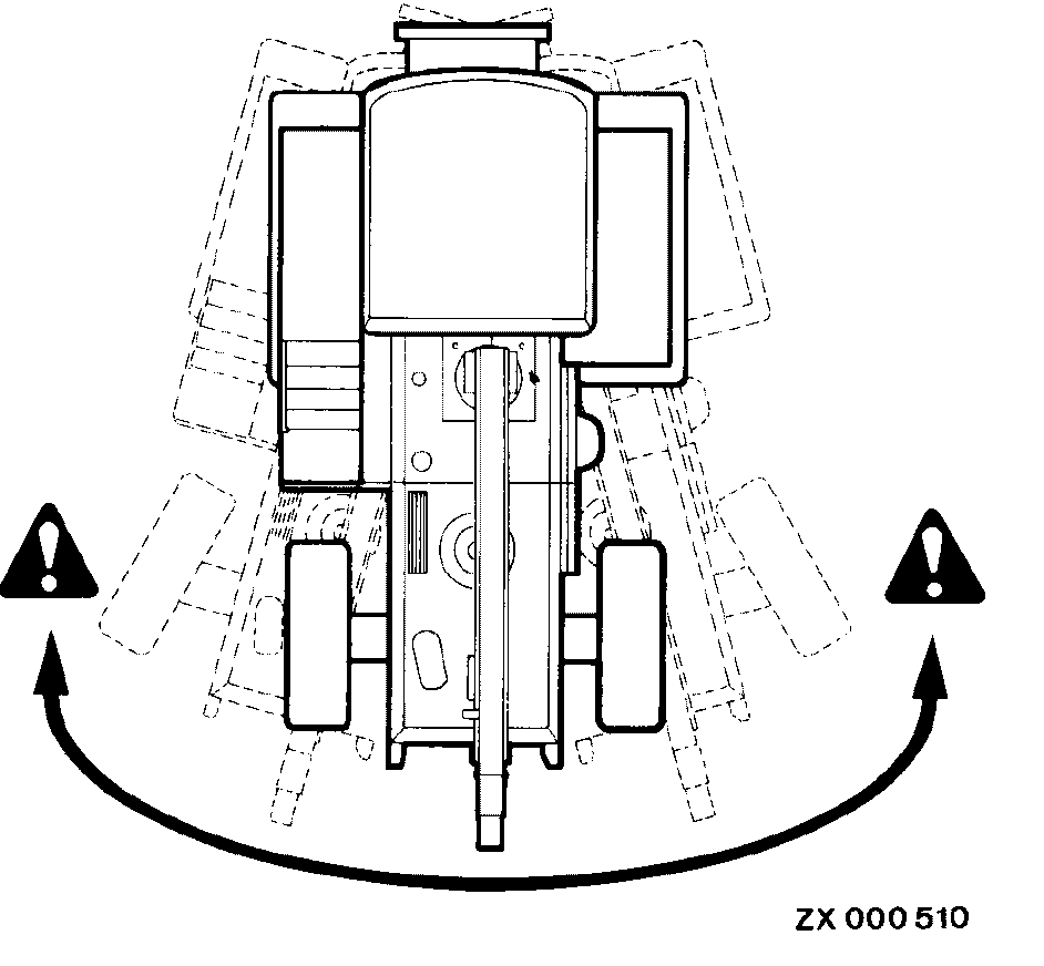
Steering and Driving

causym CAUTION: The rear of the forage harvester swings out when steering. Take care!

The steering wheels are located at the rear of forage harvester. Therefore, familiarize yourself with the different steering characteristics.

ZX000510

ZX,OMSPFH000123 -19-30MAR91-1/1