Operating Forage Harvester With Metal Detector Locked Out

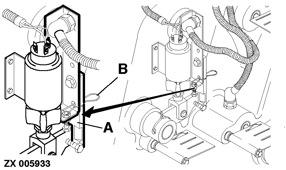
Mechanically disengage locking pawl in the length-of-cut transmission by means of tongue (A). Secure tongue (A) with spring pin (B).

ZX005933

ZX,OMSPFH000580 -19-01NOV97-1/2


Metal detector switch remains in "Off" position.

ZX013149

ZX,OMSPFH000580 -19-01NOV97-2/2