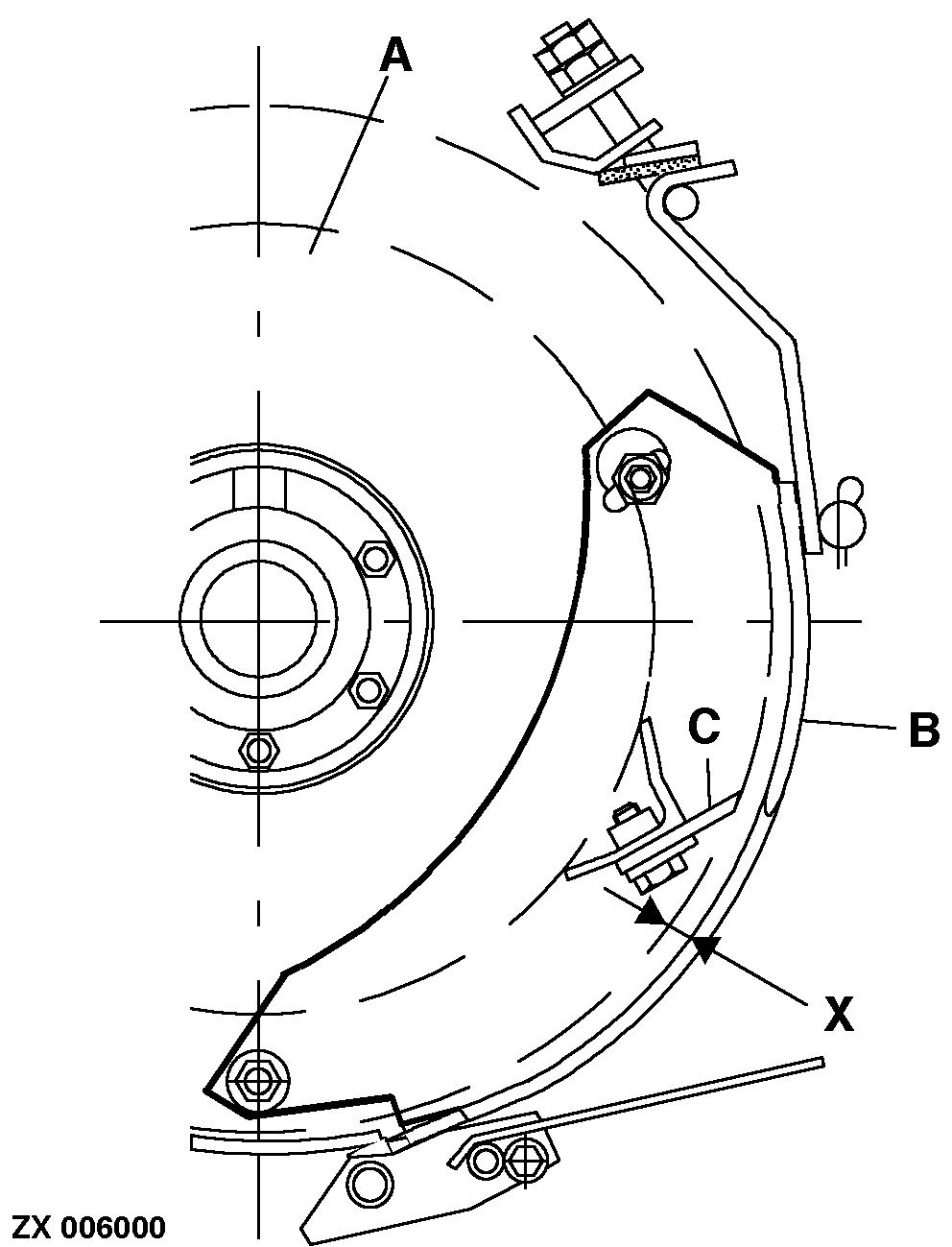
Cutterhead Bottom and Outlet Bands

To minimize power requirements and cutterhead wear, bottom and outlet bands should be readjusted:

After replacing or readjusting cutterhead knives (with subsequent sharpening).

When clearance between cutterhead knives and outlet band exceeds dimension X = 4 mm (0.16 in.).


A-Cutterhead
B-Outlet band
C-Cutterhead knives
X-4 mm (0.16 in.) clearance

ZX006000

ZX,OMSPFH001220 -19-01MAY94-1/1