Adjusting Bottom Band

causym CAUTION: Before servicing or adjusting the harvester, always disengage all power, shut off engine and wait until all moving parts have stopped rotating.

Preparations

Slacken cutterhead drive belt.

causym CAUTION: Lock cutterhead at outlet band (e.g. by means of a wooden block).

Open service cover behind cutterhead.

ZX013744

ZX,OMSPFH001222 -19-01MAY94-1/2


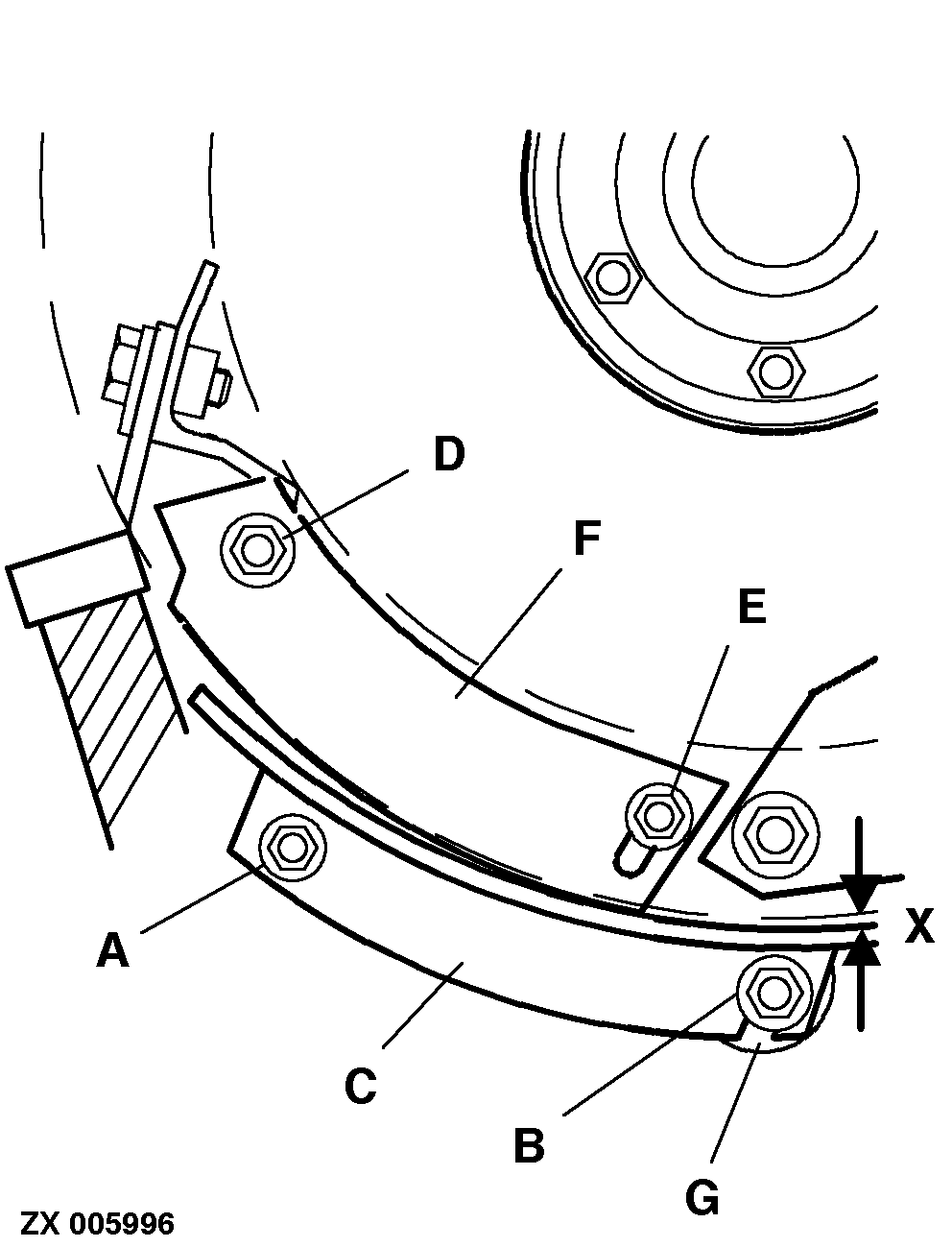
Adjustment

On both sides:

1. Loosen attaching bolts (A) and (B) of bottom band (C).

2. Loosen attaching bolts (D) and (E) of segment (F).

NOTE: If bottom band (C) was moved to widest position to replace all cutterhead knives, bring segment (F) into contact with bottom band (C) before adjusting dimension (X).

Using cam (G), move bottom band until dimension (X) 1.5 mm (0.06 in.) between band and cutterhead knives is obtained.

Tighten all attaching bolts.

Check adjustment and make corrections as necessary.


A-Attaching bolt (bottom band)
B-Attaching bolt (bottom band)
C-Bottom band
D-Attaching bolt (segment)
E-Attaching bolt (segment)
F-Segment
G-Cam
X-Adjusting dimension 1.5 mm (0.06 in.)

ZX005996

ZX,OMSPFH001222 -19-01MAY94-2/2