Installing/Changing Recirculating Screen

Preparations

NOTE: Recirculating screen can only be installed if bottom and outlet bands are in place.

If a smaller screen is to be installed for better results, the cutterhead unit does not have to be removed to carry out this conversion.

Change screen through service opening at transition chute.

ZX,OMSPFH001228 -19-01MAY94-1/5


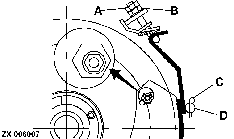
Loosen lock nuts (A) and hex. nuts (B).

Remove spring pin (C) and pull out lock (D).


A-Lock nut (2 used)
B-Hex. nut (2 used)
C-Spring pin
D-Lock

ZX006007

ZX,OMSPFH001228 -19-01MAY94-2/5


Remove bolts (A) and swing down support (B).

ZX001940

ZX,OMSPFH001228 -19-01MAY94-3/5


Detach outlet band/recirculating screen (A) at the bottom and top.

ZX001941

ZX,OMSPFH001228 -19-01MAY94-4/5


Installation

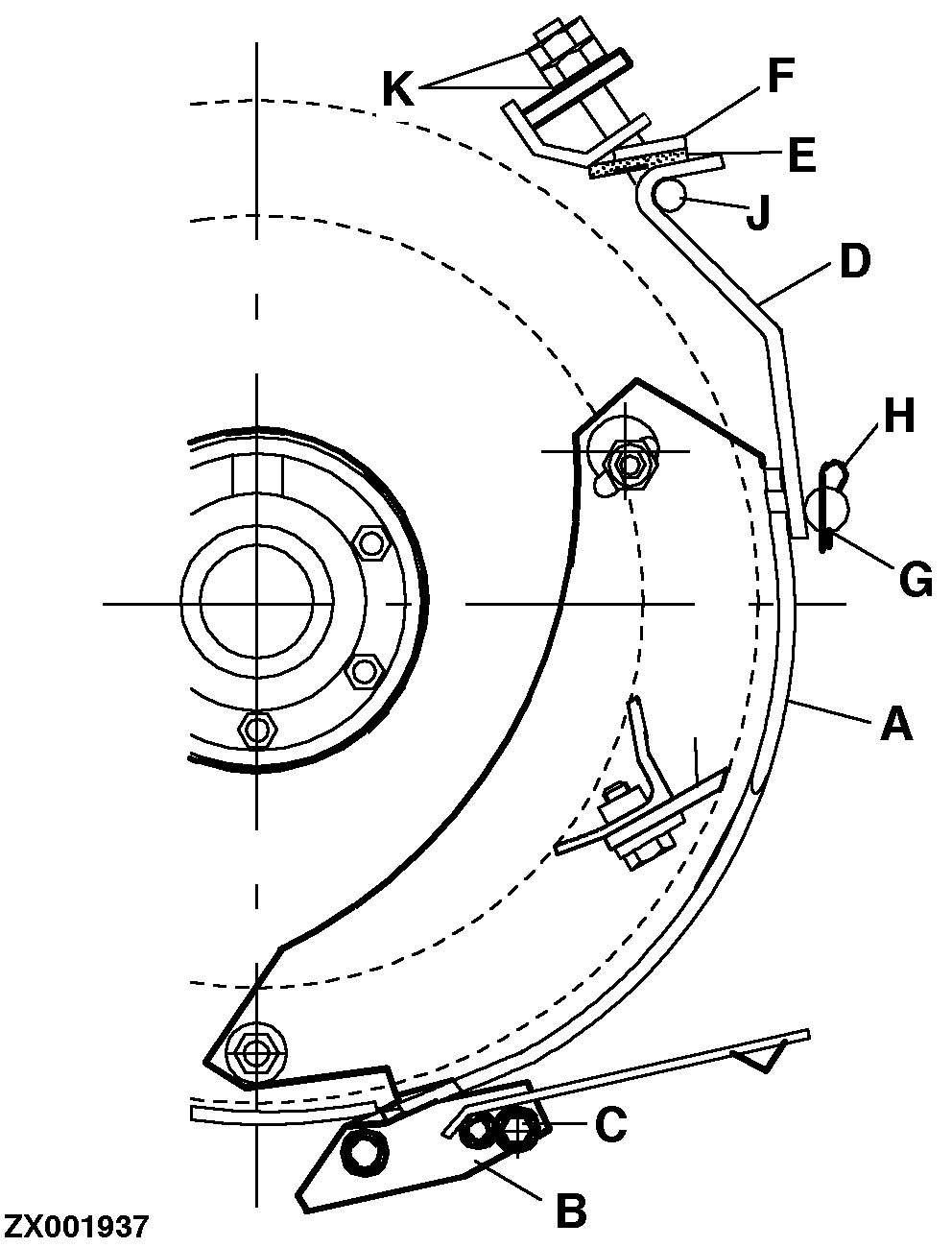
Move recirculating screen (A) upward between cutterhead and support (D) and attach it to support (B).

Swing support (B) upward and attach by means of bolt (C).

Attach recirculating screen (A) to support (D).

Install locking device (G) into existing side panel bores and secure with spring pin (H).

Tighten hex. nuts (K) by hand.

Adjust recirculating screen (A) (see the following instructions).


A-Recirculating screen
B-Support
C-Bolt
D-Support
E-Rubber seal
F-Strap
G-Locking device
H-Spring pin
J-U-bolt
K-Hex. nuts

ZX001937

ZX,OMSPFH001228 -19-01MAY94-5/5