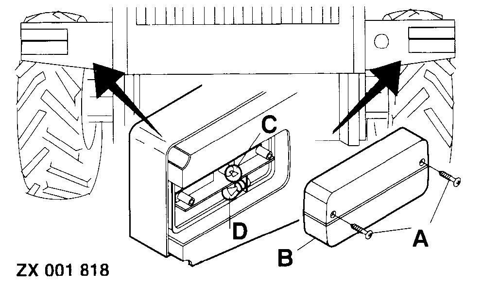
Tail, Stop and Turn Signal Lights, Rear


A-Retaining screws
B-Lens
C-Bayonet socket bulb, turn signal light (12V, 21W)
D-Bayonet socket bulb, stop/tail light (12V, 5/21W)

ZX001818

ZX,OMSPFH001368 -19-01NOV91-1/1