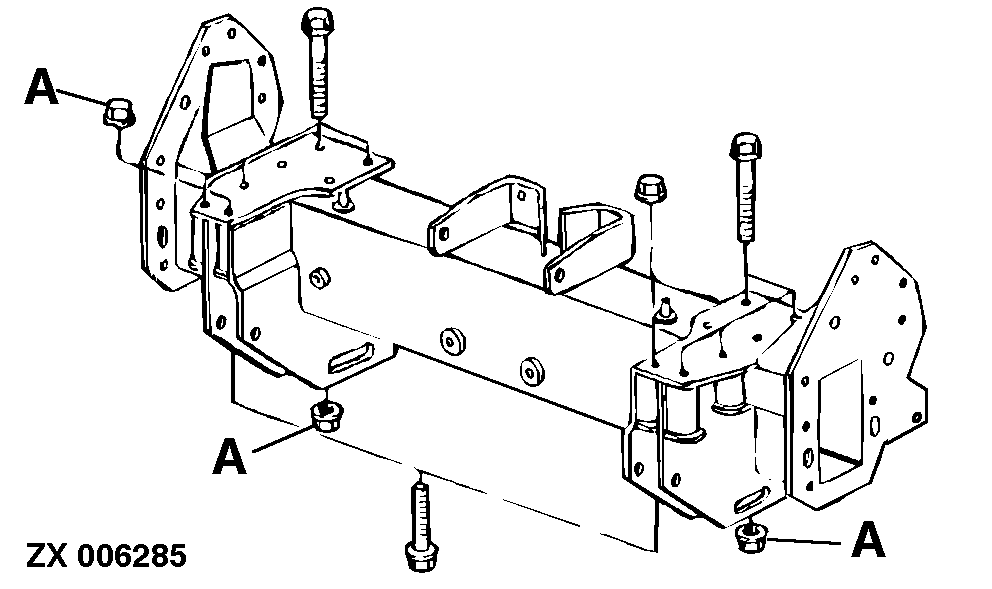
Front Axle

During the first 50 hours of operation, tighten nuts (A) at least every 10 hours of operation as follows:

550 N·m (406 lb-ft)

ZX006285

ZX,OMSPFH001393 -19-01MAY94-1/1