Adjusting Locking Pawl

causym CAUTION: Before carrying out any adjustment or service work, always disengage all drives, shut off engine and wait until all moving parts have stopped.

If the slip clutch at length-of-cut transmission slips when changing over from reversing to forward, the reason may be an incorrect adjustment of the locking pawl.

Preparations

With ignition off, remove locking pin (A). Rotate slip clutch forward by hand until it can be felt that the locking pawl is at the highest point of a cam on the cam wheel.

ZX005935

ZX,OMSPFH003266 -19-01MAY94-1/6


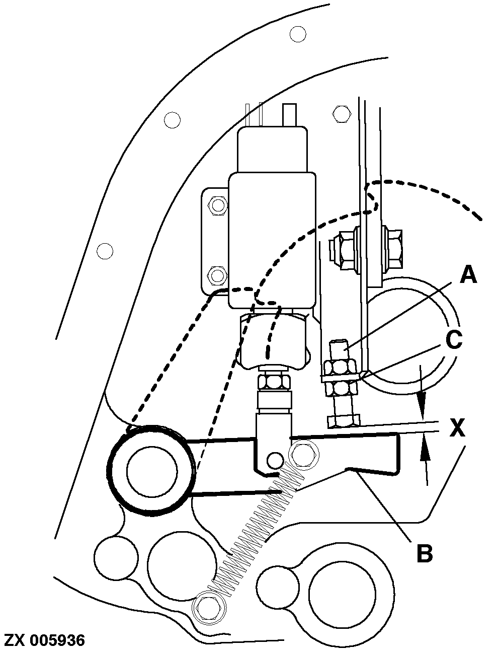
Adjustment

Adjust clearance X = 3-4 mm (0.12-0.16 in.) between screw head and lever (B) by means of cap screw (A). Tighten lock nut (C).


A-Cap screw
B-Lever
C-Lock nut
X-Clearance 3-4 mm (0.12-0.16 in.)

ZX005936

ZX,OMSPFH003266 -19-01MAY94-2/6


Current Supply of Locking Pawl Magnetic Switch

Turn on ignition

Metal detector activated

Engage main clutch

Switch on metal detector

Reverse feed rolls

locking pawl magnetic switch is supplied with current

ZX013152

ZX,OMSPFH003266 -19-01MAY94-3/6


Adjusting Locking Pawl Magnetic Switch

Loosen lock nut (A). Raise lever (B) up to the screw head.


A-Lock nut
B-Lever

ZX005984

ZX,OMSPFH003266 -19-01MAY94-4/6


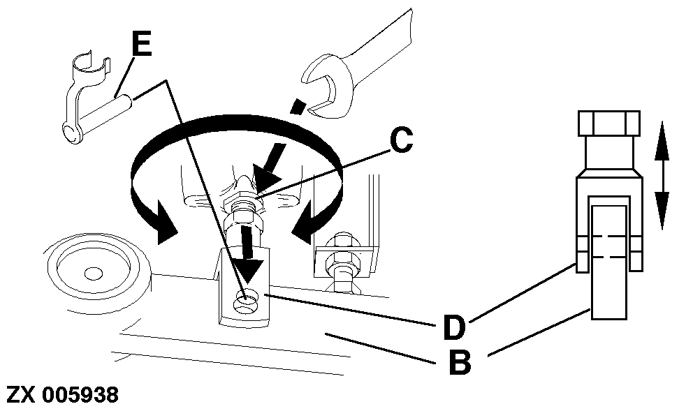
Turn plunger (C) until upper edge of bore in yoke (D) is aligned with upper edge of bore in lever (B). Install locking pin (E).


B-Lever
C-Plunger of locking pawl magnetic switch
D-Yoke
E-Locking pin

ZX005938

ZX,OMSPFH003266 -19-01MAY94-5/6


Rotate plunger (C) downward until a gap X = 0.1 - 0.2 mm (0.0039-0.0078 in.) is obtained between lever (B) and screw head. Tighten lock nut (A).


A-Lock nut
B-Lever
C-Plunger of locking pawl magnetic switch
X-Clearance 0.1-0.2 mm (0.0039-0.0078 in.)

ZX005985

ZX,OMSPFH003266 -19-01MAY94-6/6