Removing Bottom and Outlet Bands

causym CAUTION: Before servicing or adjusting the harvester, always disengage all power, shut off engine and wait until all moving parts have stopped.

causym CAUTION: Before removing bottom and outlet bands, lock cutterhead (e.g. by means of a wooden block).

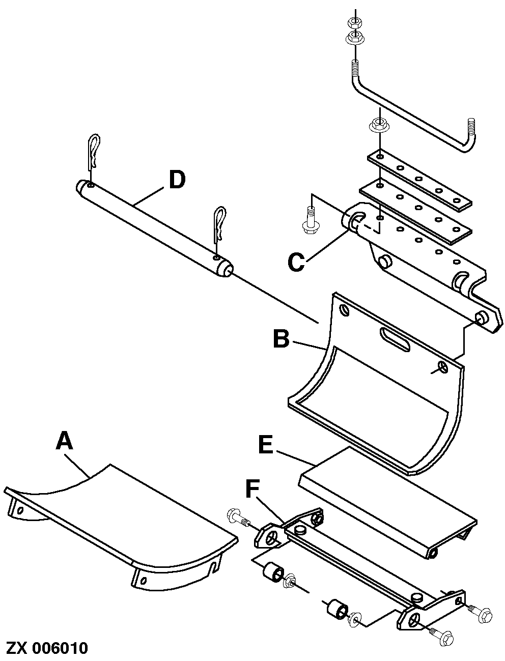
Prior to installation of spiral floor, be sure to remove bottom band, outlet band/recirculating screen, transition flap and corresponding supports with hardware (see illustration opposite).

NOTE: Keep all parts removed for future possible use.


A-Bottom band
B-Outlet band/recirculating screen
C-Support (top)
D-Locking device
E-Transition flap
F-Support (bottom)

ZX006010

ZX,OMSPFH003285 -19-14JUN94-1/1