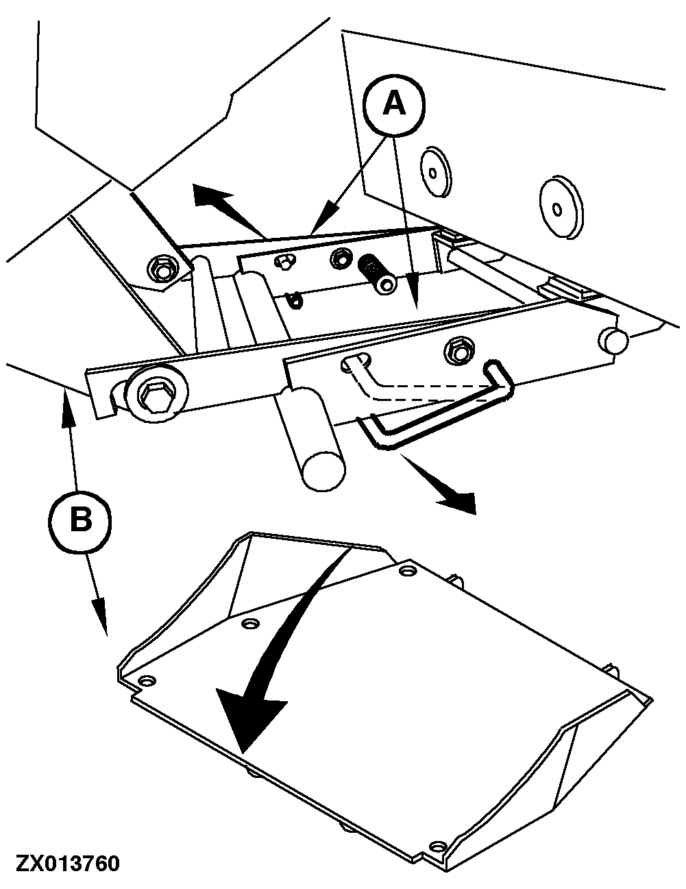
Removing Grass Transition Chute

Lower Section

Open lock (A) of transition chute and pull down.

Separate lock (A) from lower section (B).

Disengage lower section (B) after lowering it completely.

ZX013760

ZX,OMSPFH004001 -19-01NOV97-1/1