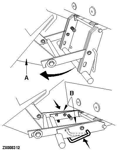
Service Cover and Locking Device

Close service cover (A) and secure with locking device (B).

ZX008312

ZX,OMSPFH004007 -19-01JAN96-1/1