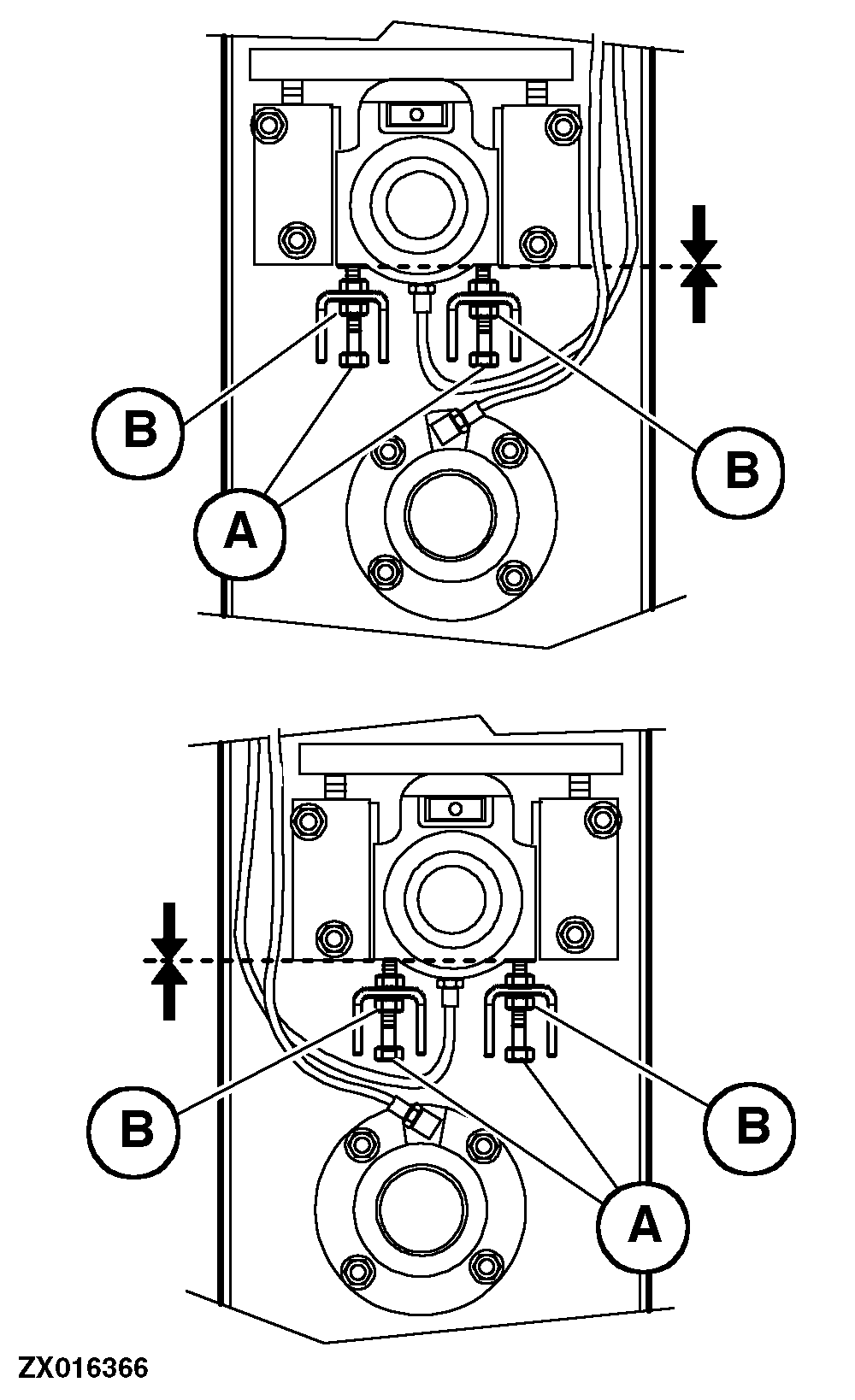
Stop Screws for Roll Clearance Adjustment

Screw the stop screws (A) all the way out.

Set roll clearance to 1 mm (0.04 in.) at right and left (see above).

At both ends, tighten the stop screws (A) until they touch the bearing support.

Retighten locknuts (B).

ZX016366

ZX,OMSPFH012902 -19-01MAY99-1/1