Rocker Arm Cover Ventilation

John Deere POWERTECH ® 12.5 L engine

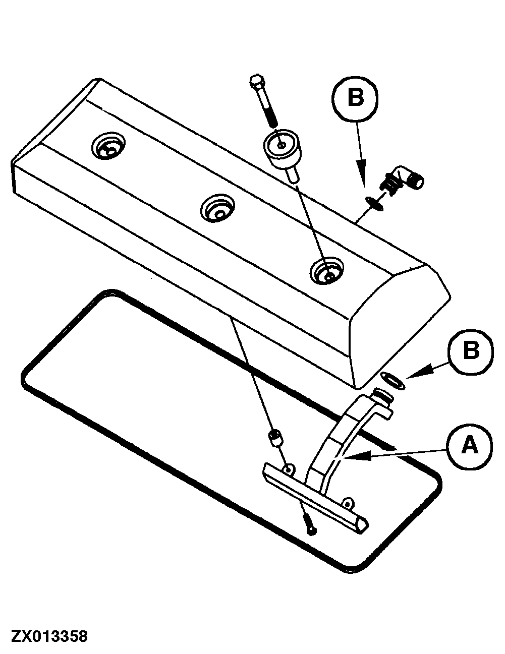
Remove rocker arm cover.

Remove ventilation outlet tube from rocker arm cover.

Remove two cap screws securing ventilator assembly (A) to cover and remove.

Clean ventilator assembly and tube in solvent and dry with compressed air.

Install ventilator assembly in reverse order of removal. Replace O-ring (B) as necessary.

Tighten ventilator assembly-to-rocker arm cover cap screws to 10 N·m (7.5 lb-ft).

NOTE: Tighten center rocker arm cover cap screw first.

Install rocker arm cover. Tighten cap screws to 30 N·m (22 lb-ft).

ZX013358

POWERTECH is a trademark of Deere & Company.

ZX,OMSPFH012925 -19-01MAY99-1/1