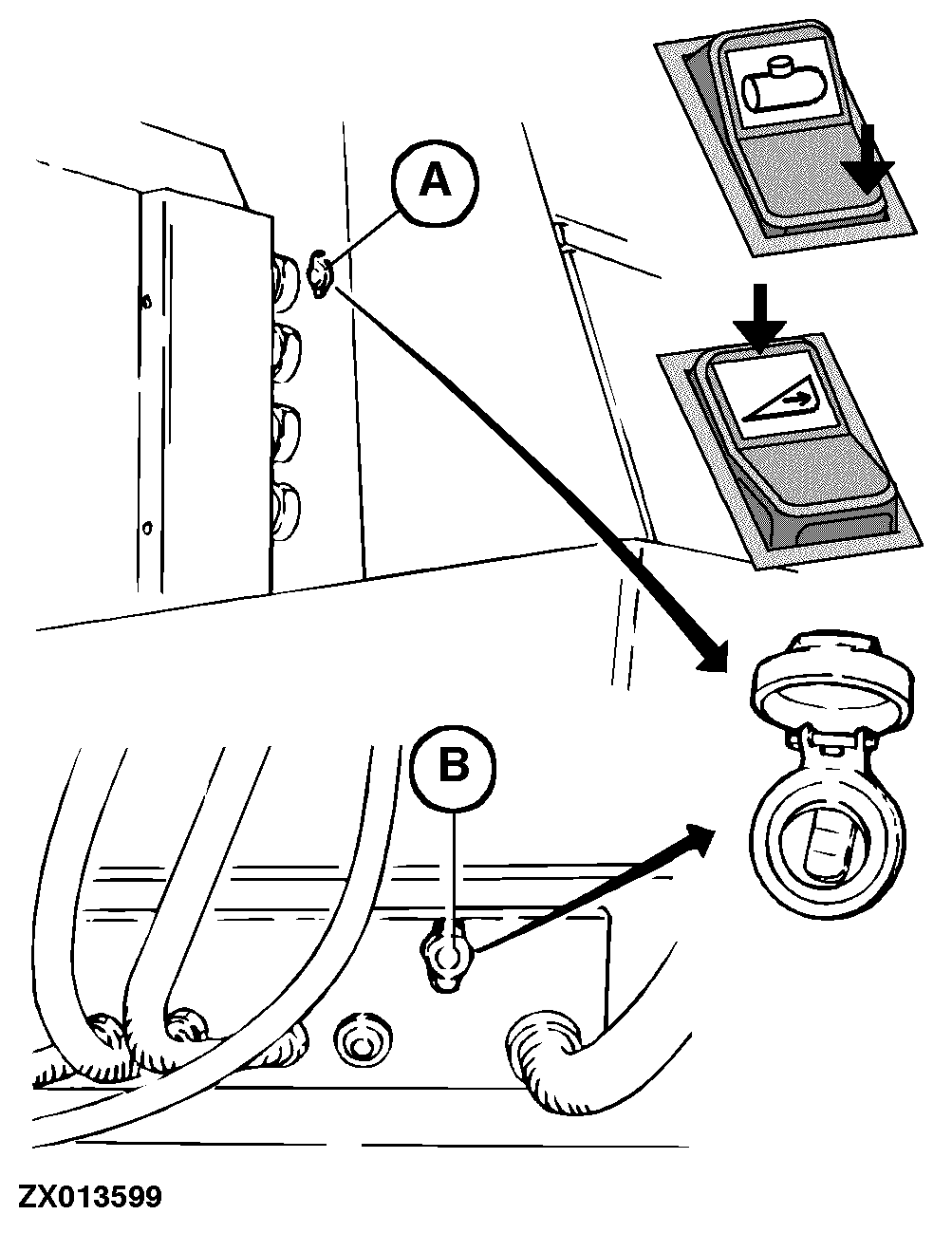
Sockets

    A - Powered with:

  • Ignition turned on
  • Spout rinsing pump activated (switched on directly at key opposite symbol)
  • Feed rolls engaged (forward direction)

B - This socket is always powered from the battery via fuse F38 (7.5 amps.)

ZX013599

ZX,OMUSFH002633 -19-01NOV97-1/1