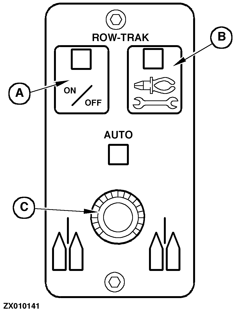
Selecting the Calibration Mode

Press key (A) and at the same time start the engine.

The indicator light on key (A) and the "AUTO" light both start to flash.

To select one of the following channels, keep calibration key (B) depressed and turn potentiometer (C) until the INFO-TRAK ™ monitor displays the desired channel.

    Channels for Selection:

  • Channel 1 - system gain
  • Channel 2 - steering ratio
  • Channel 3 - row feeler filtering

Channels for Calibrating the Header Feelers:

Channel 5 - left-hand feeler on row-independent header, right-hand feeler on row-dependent header

Channel 6 - right-hand feeler on row-independent header, left-hand feeler on row-dependent header

ZX010141

INFO-TRAK is a trademark of Deere & Company.

ZX,OMUSFH007325 -19-01DEC96-1/1