Stubble Height Control

Stubble Height Control allows the operator to select the position of the header relative to the ground, follow the ground contour, and return to that position automatically.

The system must be calibrated for each header that is used with the combine, (see Calibration Procedures section).

Activation buttons 1, 2 and 3, located on the multi-function lever, can be used for selecting three different header heights.

NOTE: If both Stubble Height Control and Return to Cut are enabled, activation button 1 will activate Return to Cut. Activation buttons 2 and 3 will be assigned to Stubble Height Control.

Height is controlled via the potentiometers on the cutting platform skids when in the range 0-250 mm (0-9.84 in.).

Operation:

Stubble Height Control mode can be activated only when:

1. A properly equipped header is connected to the combine
2. The engine is running
3. The road safety switch is in the field position
4. Stubble Height Control mode is enabled
5. The header engage switch is engaged


1-Activation Button
2-Activation Button
3-Activation Button

H68454
H68443

OUO6075,00018D7 -19-28JUN01-1/2


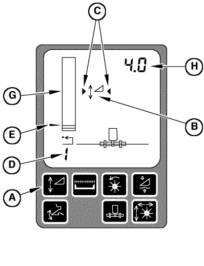
The system is enabled by pressing switch (A) on the corner post display unit. Symbol (B) will appear on the display.

Activate the system by pressing one of the activation buttons 1, 2 or 3 on the multi-function lever. Arrows (C) on each side of the symbol indicate that the system is active.

The number (D) in the lower left corner of the display indicates which activation button was pushed.

To change the height setpoint (E) of any of the activation buttons, press the desired activation buttons and adjust the height using the header height and ground pressure knob (F) to move the height setpoint and to move the header up or down.

Turning the knob towards the (+) symbol will raise the header. Turning the knob towards the (-) symbol will lower the header.

Bar graph (G) and number display (H) show the position of the header, based on the height sensor on the header.

Manually raising the header with switch (I) on the multi-function lever will turn off the function.

Pressing any of the activation buttons will re-activate the system and the header will move to the selected height.

The system can be disabled by pressing switch (A).


A-Stubble Height Control Switch
B-Stubble Height Control Symbol
C-Arrows
D-Display Number
E-Height Setpoint
F-Header Height and Ground Pressure Knob
G-Bar Graph
H-Number
I-Header Raise/Lower Switch

H68455
H68456

OUO6075,00018D7 -19-28JUN01-2/2