Unplugging Cylinder with Breaker Bar

causym CAUTION: Before applying breaker bar, disengage separator, shut off engine, remove key and set parking brake. After clearing cylinder, remove breaker bar before restarting engine and engaging separator.

If cylinder becomes choked, open concave and run separator to clean cylinder.

causym CAUTION: Raise feeder house, lower safety stop, shut off engine, remove key, and set parking brake.

If cylinder remains choked, shut off engine. Leave concave fully opened to remove all straw and other material from front of concave through cylinder (top) front door or bottom cleanout door.

OUZXMAG,0001896 -19-09OCT02-1/2


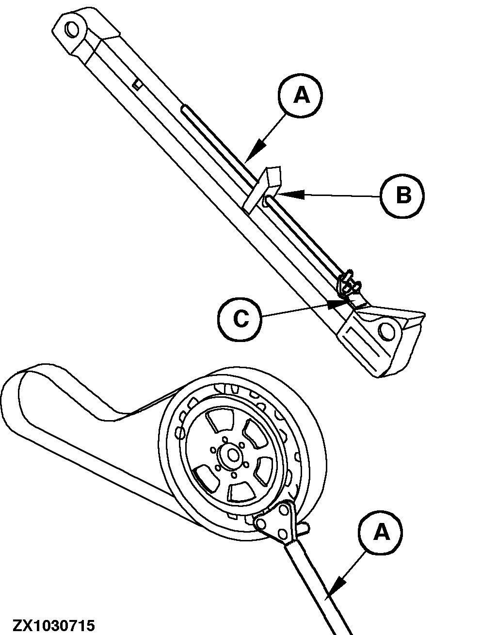
NOTE: The breaker bar (A) is an option; it is not provided with the combine.

Remove the shield covering the dual range cylinder.

Insert breaker bar (A) as shown and rock the cylinder back and forth until it is clear.

Slide shield back into position and secure with cap screw.

Adjust concave to original position after cylinder has been cleared.

When breaker bar (A) is not used, store it on tailing elevator paddle chain housing between guide (B) and strap (C).


A-Breaker Bar
B-Guide
C-Strap

ZX1030715

OUZXMAG,0001896 -19-09OCT02-2/2