Adjusting Straw Chopper

The straw chopper can chop many different crops. Chopping speed, counter-knives and space bar position shall be adjusted depending on crop and chopping result. How the chopper is adjusted affect how long the straw will be and how much power the chopper consume.

IMPORTANT: Adjust the straw chopper correctly considering to chopping result and combine capacity.

  • Chopping Wheat, Rye, Barley and Oat:

    Space bar (A) shall be set into position 1 (see "Space Bar Position" hereafter). Counter-knives (B) can be set into position 1, 2 or 3 depending on how short the chopped straw will be and how wet the straw is (see "Counter-Knife Position" hereafter).

    NOTE: Position 1 of counter-knives (B) takes most power and if the straw is wet, there is a risk that material starts to build up on the counter-knives and the power consumption will increase.

    If straw builds up, set the counter-knives (B) to a less agressive position (2 or 3). It is more important to use space bar (A) into position 1 than to set counter-knives to a more aggressive position (1 or 2). Space bar consumes less power compared with setting counter-knives from position 2 to 1.

  • Chopping Rape:

    Space bar (A) shall be set into position 2 unless the crop is weak, then position 1 should be used. Counter-knives can be set to position 3 or 4 (see "Counter-Knife Position" hereafter).

    NOTE: A less aggressive position of counter-knives helps the material come into the chopper.

  • Chopping Corn and Sunflowers:
    ZX027996
    ZX027998
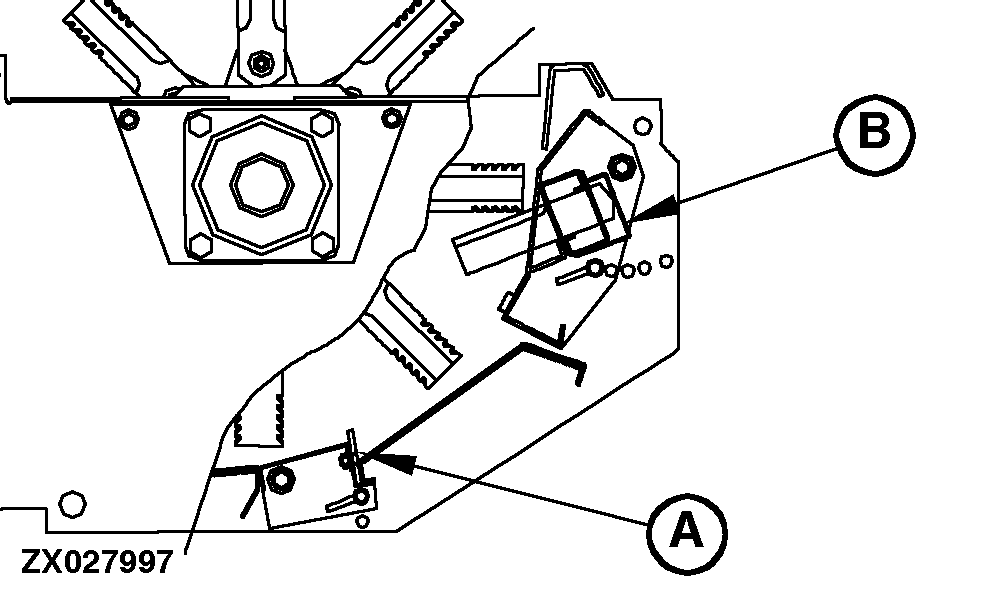
    ZX027997


    A-Space bar
    B-Counter-knives

OUZXMAG,00018CE -19-12OCT02-1/4


    IMPORTANT: To chop corn straw and sunflower stems, the counter-knives must be set to position 5 (fully retracted) and covered by the special cover plate furnished with the corn bundle (see your John Deere dealer).

    Space bar shall be set into position 2.

    Installing a special pulley reduces Rotor speed to 1900 rpm (see "Choosing Chopping Speed" hereafter)

    NOTE: Chaff spreader speed shall be also reduced.

OUZXMAG,00018CE -19-12OCT02-2/4


    Counter-Knife Position

    To adjust the counter-knives, move lock (A) inward and rotate 180° at both sides then rotate counter-knife assembly (B) up to the desired position.

    Rotate lock (A) so that it engages into the desired position.

      The length of the chopped material can be modified by setting the counter-knives to different angle (five positions available). Recommended counter-knife positions:

    • 1 - Position for dry straw (cereals)
    • 2 - Position for dry straw (cereals)
    • 3 - Position for damp straw, weeds, rape and pea straw
    • 4 - Position for rape and pea straw
    • 5 - Position for corn, rape and sunflower


    A-Lock
    B-Counter-knives

    ZX027996
    ZX027999

OUZXMAG,00018CE -19-12OCT02-3/4


      Space Bar Position

      To adjust the space bar, move lock (A) inward and rotate 180° at both sides then place space bar assembly (B) to the desired position.

      IMPORTANT: It is very important to set the space bar to position 2 before harvesting corn, sunflowers and crops with high straw content or tough straw such as beans and rape.

      Rotate lock (A) so that it engages into the desired position.

        Recommended space bar positions:

      • 1 - Position for cereals
      • 2 - Position for corn, rape, pea and sunflower
      Choosing Chopping Speed

      Two pulleys are available allowing different chopper speeds to match all crops and conditions (contact your approved John Deere dealer):

      3600 rpm (standard): For small grain with fine cut chopping.

      1900 rpm (option): Recommended for corn and sunflowers.

    ZX027998
    ZX028000


    A-Lock
    B-Space bar

OUZXMAG,00018CE -19-12OCT02-4/4