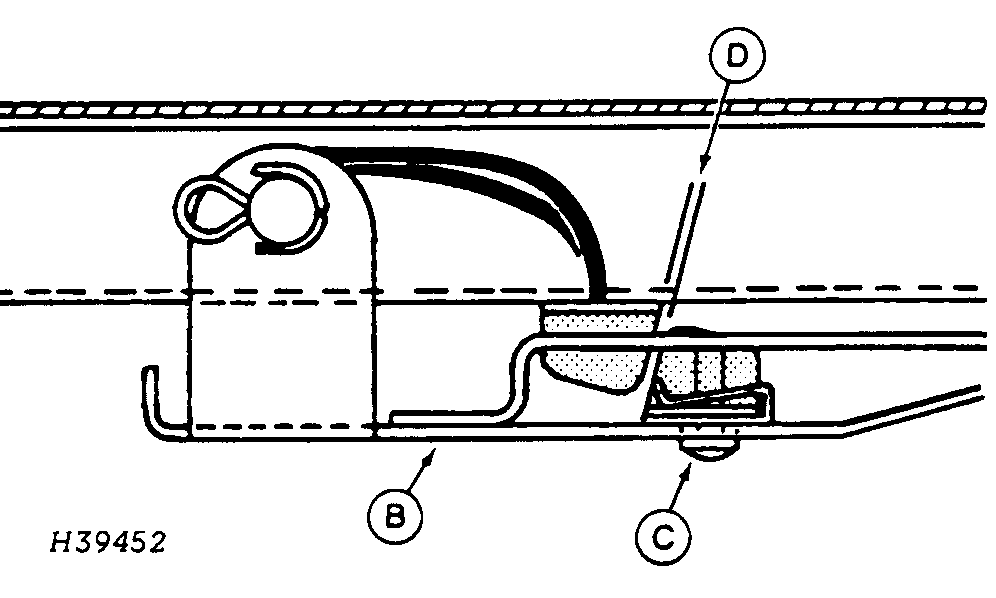
Adjusting Straw Walker Plugged Switch

If this switch does not turn on light (A) and the buzzer when actuated manually, adjust switch arm (B) as follows:

Push switch arm (B) up.

Loosen two screws (C), set a 2 mm (5/64 in.) (0.080 in.) gap (D) and then tighten screws.

If the switch still does not work, see your John Deere dealer.


A-Indicator light
B-Switch Am
C-Screws
D-2 mm (5.64 in.) gap

H68706
H39452

ZX08994,0000120 -19-05MAR02-1/1