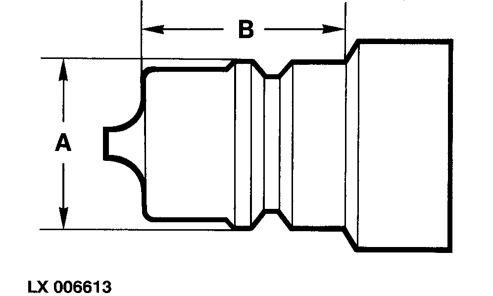
Hose Unions

The hose unions used must comply with ISO standards.

  • Dimension (A) must be between 23.66 and 23.74 mm (0.931 and 0.934 in.).
  • Dimension (B) must be at least 24 mm (0.945 in.).
LX006613

AG,OUZXMAG,500 -19-31MAY00-1/1