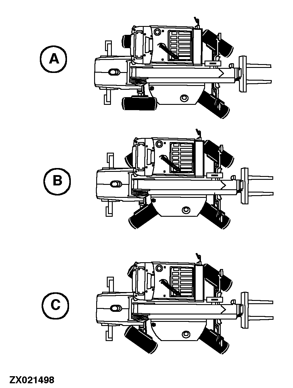
Steering Modes

causym CAUTION: Always select two wheel steering for road travel. Always carry out wheel alignment prior to using switch (D) to change steering mode! Failure to do so will lead to mis-synchronization of the wheels that will cause an erratic machine steering reaction.

The machine can be operated in three different steering modes.

    A-Two wheel steering

  • The front wheels steer with the rear wheels locked in straight ahead position.

    B-Four wheel steering

  • Both pairs of wheels steer so that front and rear wheels follow the same turning radius. This mode is for minimum turning circles.

    C-'Crab' steering

  • Both pairs of wheels steer in the same direction so that machine 'crabs' either to the left or right.

Refer to "Changing Steering Modes" in this Section to choose steering mode.

ZX027614
ZX021498

OUZXMAG,000140A -19-16JAN02-1/1