Installing Spiral Floor

causym CAUTION: Before servicing or adjusting the harvester, always disengage all power, shut off engine and wait until all moving parts have stopped.

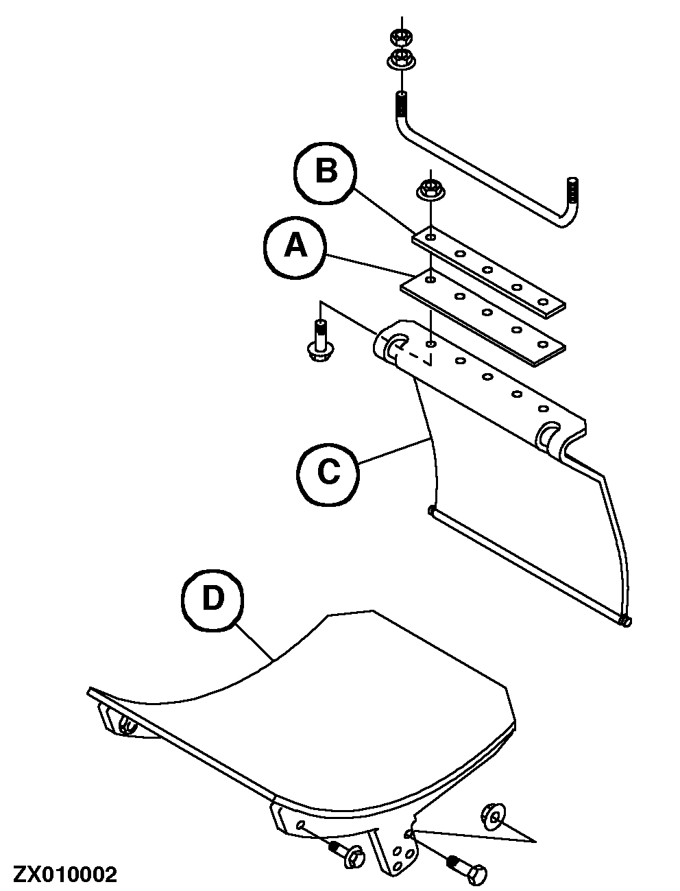
Preparations

Attach gasket (A) and strap (B) to rear cutterhead panel (C).


A-Gasket
B-Strap
C-Rear cutterhead panel
D-Spiral floor

ZX010002

OUZXMAY,000030F -19-03OCT00-1/3


Align rear edges of segments (A) and front edges of slotted holes (B).

ZX006008

OUZXMAY,000030F -19-03OCT00-2/3


Installation

causym CAUTION: For installation of spiral floor, lock cutterhead (e.g. by means of a wooden block).

NOTE: Bottom band and outlet band/recirculating screen have already been removed.

Attach spiral floor (A) (on each side: one flange screw M10X25 at the front, one M12X30 screw with flange nut at the rear).

Attach rear cutterhead panel (B) to side panels. Tighten and secure U-bolts (C).

Install retaining bar (D) and put in spring pins (E).

Unlock cutterhead (remove wooden block) and rotate by hand to make sure it turns freely.


A-Spiral floor
B-Rear cutterhead panel
C-U-bolt
D-Retaining bar
E-Spring pin (2 used)

ZX010003
ZX022352

OUZXMAY,000030F -19-03OCT00-3/3