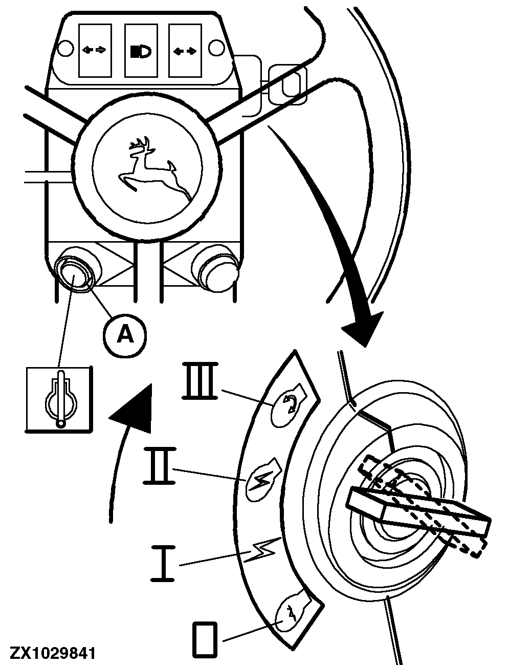
Instructions for Using Cold Weather Starting Aid

Turn starter switch to position II (ignition).

IMPORTANT: To prevent damage to the engine, inject starter fluid into the engine only when the engine is turning over.

Turn starter switch to position III. As soon as the engine starts to turn over, press ether starting aid button (A).

As soon as the engine catches, release both the starter switch and the ether starting aid button.

ZX1029841

OUZXMAY,00004B0 -19-24AUG02-1/1