Adjusting Smooth Roll Scraper

Scraper

Scraper (A) is properly adjusted if clearance between roll (B) and scraper is 0.2 mm (0.008 in.) at the narrowest point and the roll can turn freely.

Loosen four screws (C) and adjust scraper evenly.

IMPORTANT: To ensure a smooth crop flow, clean smooth roll, scraper and area between scraper and stationary knife. Replace scraper if excessively worn.

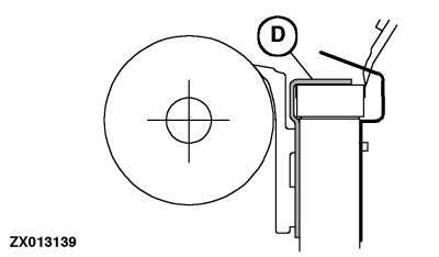
Protective Bar

A protective bar is available to protect the stationary knife when operating under adverse harvesting conditions and on stony ground. This bar prevents crop and/or stones from getting between scraper and stationary knife.


A-Scraper
B-Smooth roll
C-Screws (4 used)
D-Protective bar

ZX013140
ZX1029906
ZX013139

OUZXMAY,0000515 -19-07SEP02-1/1