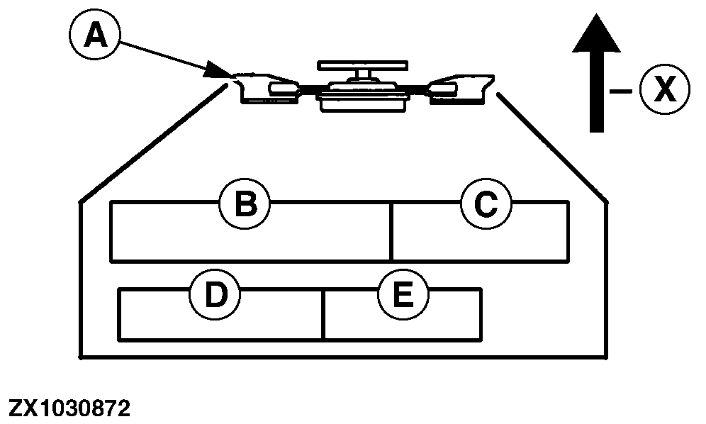
Cooling Element Location


A-Fan
B-Radiator
C-Intercooler
D-Air Conditioning Condenser
E-Hydraulic Oil Cooler
X-Direction of Travel

ZX1030871

Cooling Element (7200, 7300)

ZX1030872

Cooling Element (7400, 7500)

OUZXMAY,0000575 -19-19SEP02-1/1