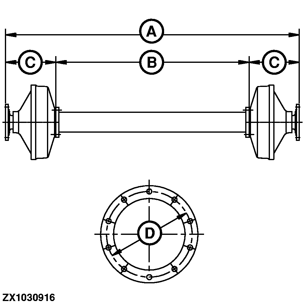
Front Axle - Dimensions

Front Axle - Standard

For tires:

  • 24.5-24
  • 620/75R34
  • 650/75R32
  • 800/65R32


A-2584 mm (101.7 inch)
B-1700 mm (66.9 inch)
C-442 mm (17.4 inch)
D-304.8 mm (12 inch)

ZX1030916

Front Axle - Standard

OUZXMAY,0000591 -19-21SEP02-1/2


Front Axle - Reinforced

For tires:

  • 900/55R32
  • 1050/50R32
  • 24.5-24 (Option)
  • 650/75R32 (Option)
  • 800/65R32 (Option)


A-2708 mm (106.6 inch)
B-1824 mm (71.8 inch)
C-442 mm (17.4 inch)
D-335 mm (13.2 inch)

ZX1030917

Front Axle - Reinforced

OUZXMAY,0000591 -19-21SEP02-2/2