Installing Stationary Knife

General Information

IMPORTANT: The stationary knife is held to the knife bed by highly torqued bolts. The stationary knife is bowed to force full contact with the bed. The forced contact produces friction to hold the knife during operation. Do not lubricate stationary knife or knife bed, because lubrication will decrease the friction holding the knife. With insufficient friction, the stationary knife will vibrate and may damage the stationary knife itself, adjusting device and cutterhead.

Thoroughly clean stationary knife retainer, guides of adjusting device, smooth roll, stripper, and area between stripper and stationary knife.

ZX022350

OUZXMAY,00005D8 -19-19OCT02-1/5


Adjusting Device

NOTE: If adjusting device was removed to eliminate end play, reinstall device. Attach motor support and adjusting motor. Reconnect motor.

ZX018131

OUZXMAY,00005D8 -19-19OCT02-2/5


Knife Bed

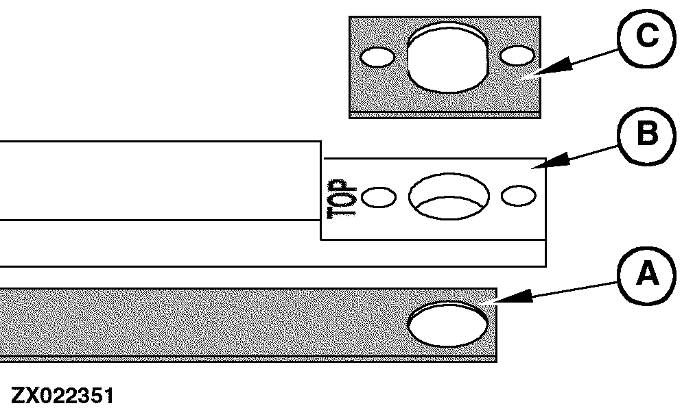
IMPORTANT: Each time the stationary knife (B) will be replaced or turned end-for-end to use the second cutting edge, replace knife bed (A) and shim (C).

Place knife bed (A) on stationary knife retainer. Note inscription "THIS SIDE DOWN" and align knife bed with screw holes in knife retainer.

IMPORTANT: Position knife bed with holes off center toward the cutterhead. Make sure that knife bed does not protrude.

ZX022351


A-Knife bed
B-Stationary knife
C-Shim

OUZXMAY,00005D8 -19-19OCT02-3/5


Stationary Knife

IMPORTANT: The stationary knife can be turned end-for-end to use the second cutting edge, but should NEVER be turned over.

NOTE: The stationary knife (B) has two cutting edges. They can be identified by the word "TOP" stamped on the knife. The stationary knife must be installed with the cutting edges in the up position.

Position stationary knife (B) with cutting edges up and align with screw holes.

ZX018133


B-Stationary knife

OUZXMAY,00005D8 -19-19OCT02-4/5


Swing down hold-down bar (D). Place shims (C) on hold-down bar. Note inscription "THIS SIDE DOWN". Align shims (C) and hold-down bar (D) with screw holes.

Alternately perform the following steps on both sides:

1. Install screws (E) with washers and tighten by hand. Use inner screw (E) to attach cover (H).

2. Install clamp bar (F) and tighten screw (G) by hand.

3. Tighten screw (G) to 237 N·m (175 lb-ft).

4. Tighten screws (E) to 90 N·m (66 lb-ft).

IMPORTANT: Rotate cutterhead by hand to check knife clearance. Cutterhead knives must not contact stationary knife.

Connect knock sensors on right hand side.

Close feed roll housing.

Adjust stationary knife (see instructions in this Section).

ZX018134
ZX018135


C-Shim
D-Hold-down bar
E-Screws
F-Clamp bar
G-Screws
H-Cover

OUZXMAY,00005D8 -19-19OCT02-5/5