Installation
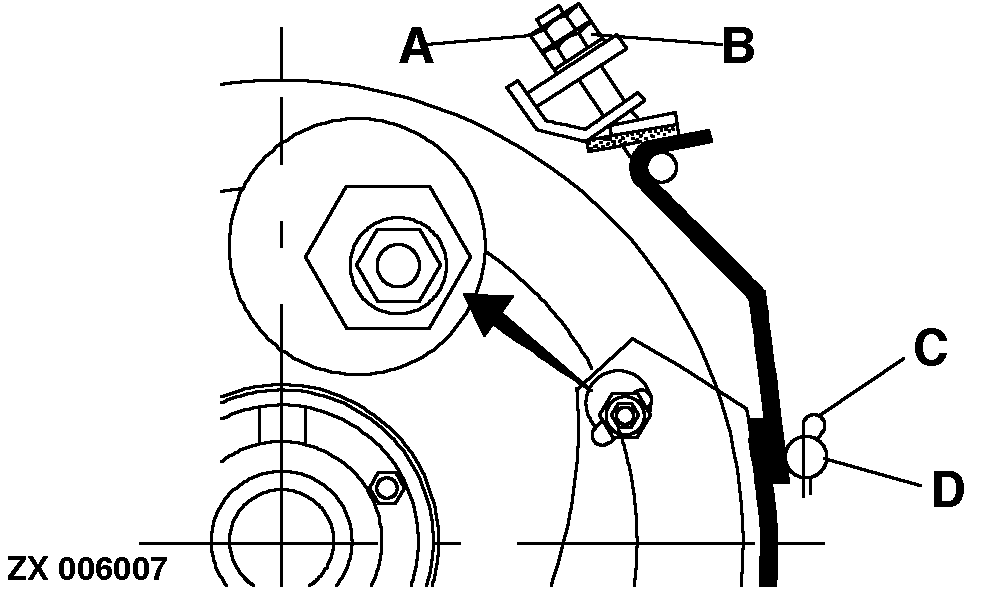
Move recirculating screen (A) upward between cutterhead and support (D) and attach it to support (B).
Swing support (B) upward and attach by means of bolt (C).
Attach recirculating screen (A) to support (D).
Install locking device (G) into existing side panel bores and secure with spring pin (H).
Tighten hex. nuts (K) by hand.
Adjust recirculating screen (A) (see the following instructions).
A-Recirculating screen
B-Support
C-Bolt
D-Support
E-Rubber seal
F-Strap
G-Locking device
H-Spring pin
J-U-bolt
K-Hex. nuts
|