Replacing Wear Plate

causym CAUTION: Before servicing or adjusting the harvester, disengage all drives, shut off engine and wait until all moving parts have stopped.

Crossmembers

Loosen lock nuts of locking screws (A) and slacken locking screws until tension on blower bottom is relieved.

Remove attaching screws (B) of lower and upper crossmembers (C) and (D). Remove crossmembers. Use one attaching screw (B) on each side to limit folding movement of blower bottom.


A-Locking screws
B-Attaching screws
C-Lower crossmember
D-Upper crossmember

ZX013791
ZX013792

ZXOMSPFH010309 -19-01NOV97-1/3


Clamping Key

Use a mounting bar (A) to move back clamping key (B). Slide clamping key (B) approx. 50 mm (1.96 in.) to the left and take out through blower support opening from the right-hand side.

ZX013793
ZX013795

ZXOMSPFH010309 -19-01NOV97-2/3


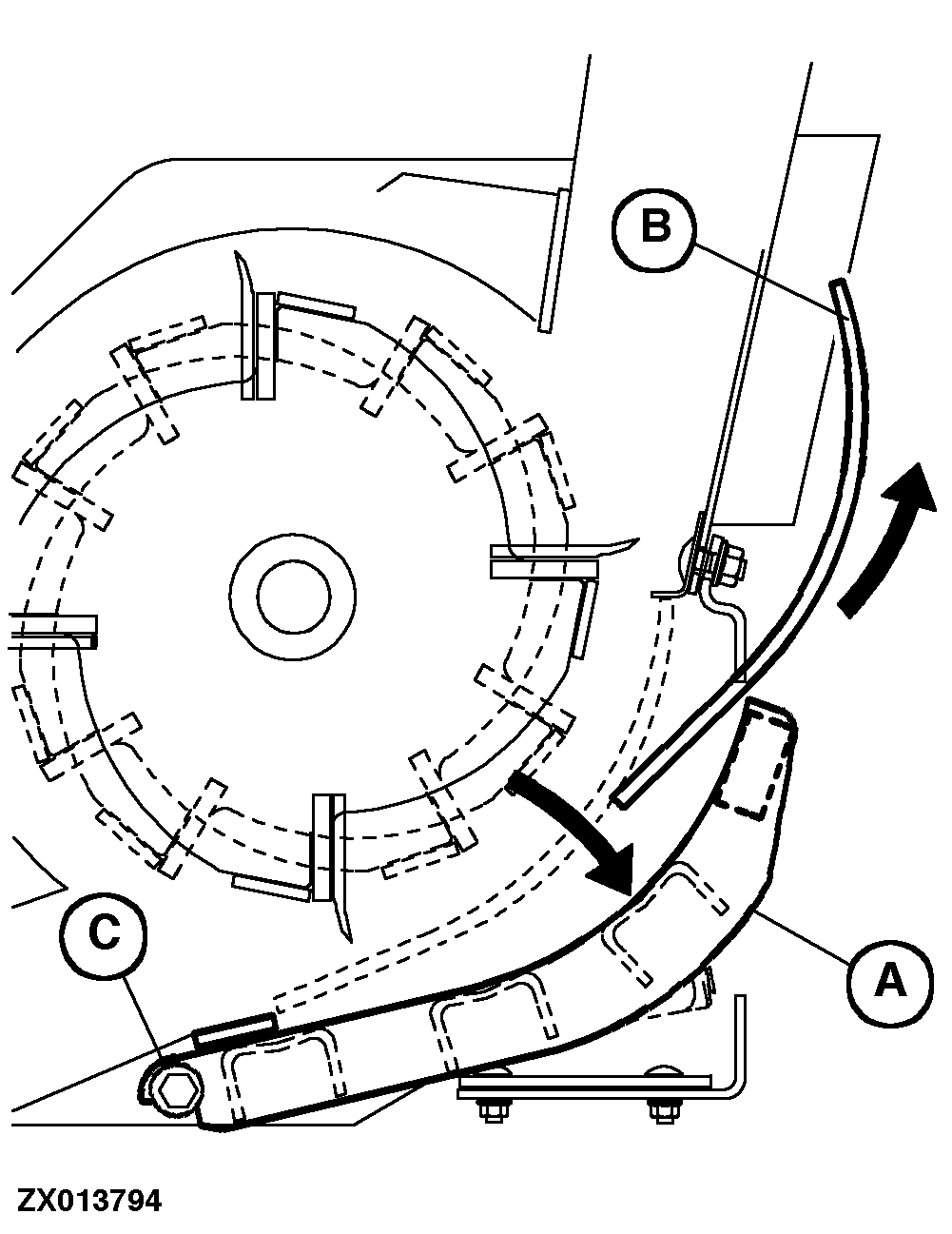
Wear Plate

Remove attaching screws used to limit folding movement of blower bottom.

Tilt frame (A) to the rear and remove wear plate (B) from the top.

If necessary, detach frame (A) at attaching point (C) and pull out.

NOTE: Before installing new parts, thoroughly clean inside of blower.


A-Blower bottom frame
B-Wear plate
C-Frame attaching point

ZX013794

ZXOMSPFH010309 -19-01NOV97-3/3