Recirculating Screens

When operating the kernel processor in corn silage or ear corn, leaves and husks may be longer than desired. The recirculating screen will retain leaves and husks for a shorter cut, but will allow finer material to pass through to the kernel processor/blower fan.

To keep power requirements low, always use the largest recirculating screen and length of cut possible.

The largest screen should always be installed first. If results are not acceptable, work down to a smaller one.

Slot Size Type of Crop
13 mm (1/2 in.)... Ear corn silage (with kernel processor)
16 mm (5/8 in.)... Corn silage (with or without kernel processor)
19 mm (3/4 in.)... Corn silage (with or without kernel processor)
35 mm (1-3/8 in.)... Corn silage (with or without kernel processor)
44 mm (1-3/4 in.)... Corn silage (with or without kernel processor)
60 mm (2-1/3 in.)... Corn silage (with or without kernel processor)

 

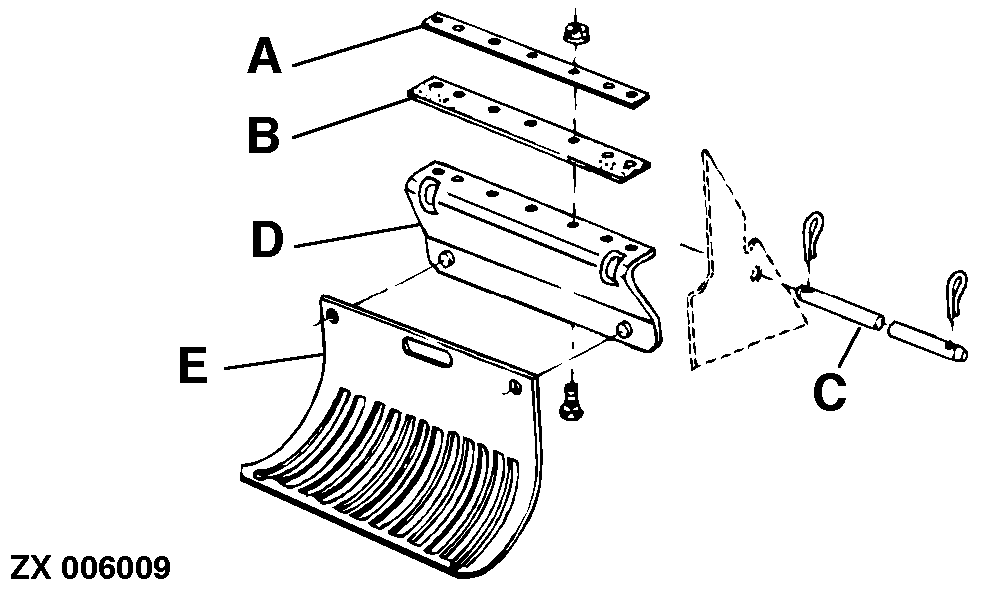
ZX006009


A-Strap
B-Rubber seal
C-Locking device
D-Support
E-Recirculating screen

ZX,OMSPFH001223 -19-01JAN96-1/1