Checking Stationary Knife for Wear

When one cutting edge is worn, the stationary knife can be removed and turned end for end. Never turn the stationary knife over.

NOTE: The stationary knife has two cutting edges. They can be identified by the word "TOP" stamped on the knife. The stationary knife must be installed with the cutting edges in the up position.

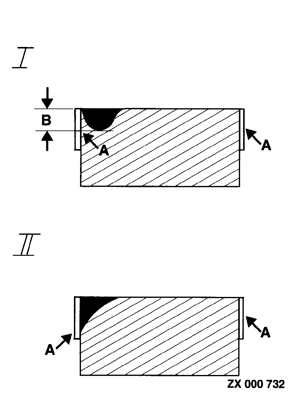
Figure (I) shows the wear pattern of a stationary knife with tungsten carbide edge (A) on a well maintained machine. Rotate stationary knife end for end when 10 mm (0.38 in.) is worn off edge.

Abnormal wear (Figure II) or rounding of tungsten carbide edge may occur due to excessive cutterhead knife-to-stationary knife clearance.


I-Normal wear pattern
II-Abnormal wear pattern
A-Tungsten carbide edge
B-10 mm (0.38 in.)

ZX000732

ZX,OMUSFH002646 -19-01JAN93-1/2


Insufficient clearance between cutterhead knives and stationary knife causes chamfering (A) of stationary knife cutting edge.

IMPORTANT: Be sure to perform adjusting procedure as described in this Section to avoid cutterhead and stationary knife damage.

ZX004758

ZX,OMUSFH002646 -19-01JAN93-2/2