John Deere

OMM134173

Issue H7

820R Walk-Behind Tiller

Serial No. (010001 - )

Introduction

Safety Signs

Controls

Operating

Replacement Parts

Service Machine Safely

Service

Engine Warranty Maintenance Statement

Service Intervals

Service Record

Service Record

Engine Oil

Checking Engine Oil Level

Changing Engine Oil

Cleaning / Changing Air Cleaner

Cleaning and Gapping Spark Plug

Cleaning Cylinder Fins

Adjusting Carburetor

Adjusting Tine Clutch

Changing "Forward" Drive Belts

Adjusting "Forward" Drive Belts Tension

Changing "Reverse" Drive Belt

Adjusting "Reverse" Drive Belt Tension

Checking Tire Pressure

Gear Oil

Checking Transmission Oil Level

Changing Transmission Oil

Checking Tiller Gearbox Oil Level

Changing Gearbox Oil

Lubricating Handlebar Swivel

Lubricating Drive Wheels

Lubricating Tine Shafts

Lubricating Drive Idler Sheaves

Fuel

Filling Fuel Tank

Troubleshooting

Storing Machine

Assembly

Specifications

Warranty

John Deere Quality Statement

Copyright© Deere & Company

All Manuals Close Window

Service


Engine Warranty Maintenance Statement

Maintenance, repair, or replacement of the emission control devices and systems on this engine, which are being done at the customers expense, may be performed by any nonroad engine repair establishment or individual. Warranty repairs must be performed by an authorized John Deere dealer.

Service Intervals

Daily

· Check engine oil level.

· Check air filter assembly.

2 Hours

· Change engine oil. (after initial purchase)

5 Hours

· Check engine oil level.

· Inspect air filter element.

· Check transmission oil level.

· Check gearbox oil level.

25 Hours:

· Change transmission oil. (after initial purchase)

· Change gearbox oil. (after initial purchase)

· Change engine oil.

· Wash air filter precleaner.

· Lubricate drive idler sheaves.

50 Hours

· Clean engine cylinder cooling fins.

100 Hours

· Clean and gap spark plug.

Yearly

· Change engine oil.

· Wash air filter precleaner.

· Clean and gap spark plug.

· Clean engine cylinder cooling fins.

· Check transmission oil level.

· Check gearbox oil level.

· Lubricate drive idler sheaves.

· Lubricate drive wheels and tine shafts.

As Needed

· Change transmission oil.

· Change gearbox oil.

· Lubricate handlebar swivel.


Service Record

DATE

SERVICE PERFORMED


Service Record

DATE

SERVICE PERFORMED


Engine Oil



Use oil viscosity based on the expected air temperature range during the period between oil changes.

The following John Deere oils are PREFERRED:

· TORQ-GARD SUPREME® -SAE 30
· TORQ-GARD SUPREME® -SAE 5W-30

The following John Deere oils are also recommended, based on their specified temperature range:

· TURF-GARD®-SAE 10W-30;
· PLUS-4®-SAE 10W-30.

Other oils may be used if above John Deere oils are not available, provided they meet one of the following specifications:

· SAE 30-API Service Classification SC or higher;

· SAE 5W-30-API Service Classification SG or higher;

· SAE 10W-30-API Service Classification SG or higher.

Checking Engine Oil Level

IMPORTANT: Avoid damage! Oil level MUST be maintained in a safe operating range on dipstick at all times or engine damage will result.


c CAUTION: Avoid injury! DO NOT touch engine or tiller drive parts which are hot from operation.

Service Interval: Check oil level daily or every five hours of operation.

1. Park tiller on a flat level surface, stop engine and disengage clutches.

2. Wipe all debris from around dipstick.


M86695

3. Remove dipstick (A) and wipe it clean.

4. Install dipstick, pushing it down tightly, remove it and observe oil level.

· Oil level must be between ADD and FULL marks on dipstick.

NOTE: See Engine Oil in this section for proper type of oil.

· If necessary add clean fresh engine oil through engine oil fill plug (B) until oil level is at the FULL mark on the dipstick.

· Approximate crankcase capacity is 1.3 L (44 oz.)

· DO NOT over fill. Level must not exceed FULL mark.

5. Install dipstick and oil fill plug.

Changing Engine Oil

c CAUTION: Avoid injury! DO NOT touch engine or tiller drive parts which are hot from operation.

Service Interval: Change engine oil after first 2 hours of operation, thereafter change oil every 25 hours of operation or yearly.


M86695

1. Run engine just prior to changing oil. Oil will flow more freely and carry away more contamination when warm.

2. Park tiller on a flat level surface, stop engine and disengage clutches.

3. Drain engine oil:

· Position a drain pan under engine.

· Remove oil drain plug (A).

· After engine oil has completely drained, install oil drain plug.

4. Add engine oil:

NOTE: See Engine Oil in this section for proper type of oil.

· Add clean fresh engine oil through engine oil fill plug (B).

· Approximate crankcase capacity is 1.3 L (44 oz.).

5. Check engine oil:

· Wipe all debris from around dipstick.

· Remove dipstick (A) and wipe it clean.

· Install dipstick, pushing it down tightly, remove it and observe oil level.

· Oil level must be between ADD and FULL marks on dipstick.

· If necessary, add oil until oil level is at FULL mark on dipstick.

· DO NOT over fill. Level must not exceed FULL mark.

· Install dipstick and oil fill plug.

Cleaning / Changing Air Cleaner

IMPORTANT: Avoid damage! · DO NOT run engine with the air cleaner removed. Operating engine with a dirty air filter for only a brief amount of time can cause engine damage.

· DO NOT wash air filter element or blow dirt off with compressed air as this will damage element.


Service Interval:

· Filter Precleaner: Washed every 25 hours of operation or yearly, or more often under extremely dirty, dusty conditions.

· Filter Element: Inspect every 5 hours of operation and replace if damaged or dirty. Check more frequently under extremely dirty, dusty conditions.

1. Remove air cleaner:


M88097

· Loosen two screws (A). Screws will not come out, just loosen.

· Remove air cleaner cover assembly(B).


M88098

2. Filter Element (C):

· Check filter element and tap lightly to remove light dust.

· Examine element carefully and replace if bent, crushed, damaged or dirty.

3. Filter Precleaner (D):

· Wash in warm water with detergent. Rinse thoroughly until all traces of detergent are eliminated and squeeze (don't wring) away excess water. Air dry.

· Soak in fresh, clean engine oil and squeeze out excess oil.

4. Assemble and install filter assembly.

Cleaning and Gapping Spark Plug

c CAUTION: Avoid injury! Before you remove spark plug:

· STOP engine

· Let engine cool.

IMPORTANT: Avoid damage! DO NOT clean spark plug with abrasives.


Service Interval: Check spark plug every 100 hours of operation or yearly.

1. Clean area around spark plug.


M86697

2. Disconnect spark plug wire (A).

3. Remove and inspect spark plug:

· Clean plug and check for damage, replace if necessary.

· If plug is in good condition, check gap.


M85200

4. Check and adjust spark plug gap (B):

· 0.76 mm (0.030 in.)

5. Install spark plug and tighten to 20 N·m (15 lb-ft.).

6. Install spark plug wire.

Cleaning Cylinder Fins

c CAUTION: Avoid injury! DO NOT touch engine or tiller drive parts which are hot from operation.

Service Interval: Clean cylinder fins every 50 hours of operation or yearly, or more often under extremely dirty, dusty conditions.

This engine is air cooled. Air must circulate freely around engine from air intake screen, and over cooling fins on cylinder head and block, to prevent overheating.

Remove cooling shrouds and clean engine fins. Also clean external surfaces of engine of dust, dirt and oil deposits which can contribute to improper cooling.

IMPORTANT: Avoid damage! DO NOT run engine with cooling shrouds removed. This will cause overheating and engine damage.


Adjusting Carburetor

NOTE: The carburetor is calibrated by the engine manufacturer and should not require any adjustments.

If engine is operated at altitudes above 1829 m
(6,000 ft.), some carburetors may require a special high altitude main jet. See your John Deere dealer.

Possible engine surging will occur at high rpm when the machine is in neutral ("N") and the tines are disengaged. This is a normal condition due to the emission control system.

If engine is hard to start or runs rough, check the TROUBLESHOOTING section of this manual.

After performing the checks in the troubleshooting section and your engine is still not performing correctly, contact your John Deere dealer.

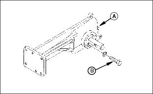
Adjusting Tine Clutch


M88099

The tine clutch is used to engage the tiller tines. When you move tine clutch lever (A) forward (over center) to the "IN" position the tines will engage and start to rotate. Move Tine clutch lever (A) rearward (over center) to the "OUT" position the tines will disengage and stop rotating.

The tine clutch lever (A) should shift smoothly and with minimum effort. As the clutch wears it may be necessary to adjust the linkage to maintain this minimum effort, smooth shift.

Adjust Tine Clutch Linkage:

· Loosen nut (C).

· Disconnect quick coupler (D) from gearbox shift arm.

· Tighten or loosen coupler (D), this will change the length of linkage rod (B).

· Install quick coupler and tighten nut.

· Operate tine clutch lever, the lever should shift smoothly and with minimum effort. Repeat the above steps as needed.

Changing "Forward" Drive Belts

c CAUTION: Avoid injury! Be careful, sharp edges on idler sheaves. If necessary, wear gloves when working with idler sheaves.


M86695

1. Remove cap screw (A) and belt cover (B).


M88100

2. Remove reverse drive belt (C). (See Changing "Reverse" Drive Belt in this section.)


M88102

3. Remove wingnut and belt guide (D).

4. Loosen cap screw and move belt guide (E) out of the way.


M88103

5. Remove both forward drive belts (F) from drive sheave (G) and from around lower driven sheave (gearbox input sheave).Inspect belts and replace if necessary.

6. Install (new) forward drive belt around lower driven sheave (gearbox input sheave) and around drive sheave (G).


M88102

7. Install belt guide (D) and wingnut.

8. Reposition belt guide (E) and tighten cap screw.


M86698

9. Hold main clutch "F" Top Levers (H) in the engaged position. This will tighten both drive belts.

10. Check belt guide clearance:

· Measure clearance between drive belts and belt guides.

· Clearance should be approximately 1.5 to 3 mm (1/16 to 1/8 in.).

· Adjust if necessary.

11. Adjust belt tension. (See Adjusting "Forward" Drive Belt Tension in this section.)

12. Install reverse drive belt (C). (See Changing "Reverse" Drive Belt in this section.)

13. Install belt cover and cap screw.

Adjusting "Forward" Drive Belts Tension


M86695

1. Remove cap screw (A) and belt cover (B).


M86698

2. Operate and hold main clutch "F" Top Levers (C) in the engaged position.

IMPORTANT: Avoid damage! When adjusting belt tension do not tighten cable so much that the engagement spring (D) is expanded 19 mm (3/4 in.) longer than it's relaxed state length.



M88104

3. Adjust belt tension:

NOTE: Cable length can be adjusted at either end, it is suggested to adjust cable on the handlebar end first.


M88110

· Loosen nut (E).

· Tighten or loosen nut (F) until the engagement spring (D) has expanded in length approximately
6 mm (1/4 in.) from it's relaxed state length.

· Tighten nut (E).

If belts have stretched too much and tension cannot be adjusted, install new belts.

4. Install belt cover and cap screw.

Changing "Reverse" Drive Belt

c CAUTION: Avoid injury! Be careful, sharp edges on idler sheaves. If necessary, wear gloves when working with idler sheaves.


M86695

1. Remove cap screw (A) and belt cover (B).


M88100

2. Loosen nut (C).

3. Idler (D) is mounted in an adjustment slot. Slide idler down to loosen drive belt tension.

4. Remove reverse drive belt (E) from around idler (D) and from around lower driven sheave (gearbox input sheave).

5. Inspect belt and replace if necessary.

NOTE: The reverse drive belt is a cogged belt. Install belt with cogs (rough edge) (F) to the outside as shown.


M88100

6. Install (new) reverse drive belt around lower driven sheave (gearbox input sheave) and around idler (D).

7. Move idler (D) up to put tension on drive belt.

8. Tighten nut (C).

9. Adjust belt tension. (See Adjusting "Reverse" Drive Belt Tension in this section.)

10. Install belt cover and cap screw.

Adjusting "Reverse" Drive Belt Tension

c CAUTION: Avoid injury! Be careful, sharp edges on idler sheaves. If necessary, wear gloves when working with idler sheaves.


M86695

1. Remove cap screw (A) and belt cover (B).


M86698

2. Operate main clutch "R" bottom lever (C).


M88101

3. Observe belt tension idler (D) movement. When belt tension and cable pull are properly adjusted, the belt tension idler will have approximately 32 mm (1 1/4 in.) of travel (E) between neutral and the fully engaged position.


M88100

4. Adjust belt tension:

· Loosen nut (F).

· Idler (G) is mounted in an adjustment slot. Slide idler up or down to change belt tension.

· Tighten nut (F).

· Repeat steps 2 and 3 until belt tension is properly adjusted.

IMPORTANT: Avoid damage! When adjusting cable pull do not tighten cable so much that the engagement spring (H) is expanded 19 mm (3/4 in.) longer than it's relaxed state length.



M88104

5. Adjust cable pull:

NOTE: Cable length can be adjusted at either end, it is suggested to adjust cable on the handlebar end first.


M88110

· Loosen nut (I).

· Tighten or loosen nut (J) until the engagement spring (H) has expanded in length approximately 6 mm (1/4 in.) from it's relaxed state length.

· Tighten nut (I).

6. Repeat steps 2, 3, 4 and 5 until the belt tension and cable pull are adjusted properly.

If belt has stretched too much and tension cannot be adjusted, install a new belt.

7. Install belt cover and cap screw.

Checking Tire Pressure


M86692

Check tires for damage.

Check tire pressure with an accurate gauge.

· Tire pressure should be 96 kPa (14 PSI).

Gear Oil

Use oil viscosity based on the expected air temperature range during the period between oil changes.

The following John Deere gear case oil is PREFERRED:

· GL-5 GEAR LUBRICANT®-SAE 80W-90.

The following John Deere gear case oil is also recommended if above preferred oil is not available:

· GL-5 GEAR LUBRICANT®-SAE 85W-140.

Other gear case oils may be used if above recommended John Deere gear case oils are not available, provided they meet the following specification:

· API Service Classification GL-5.


M58275

Checking Transmission Oil Level

c CAUTION: Avoid injury! DO NOT touch engine or tiller drive parts which are hot from operation.

IMPORTANT: Avoid damage! Serious damage can be caused to your transmission if it is allowed to run for even a short time without proper amount of oil.


Service Interval: Check transmission oil level every 5 hours of operation or at start of tilling season (yearly).

1. Place tiller on a flat, level surface.

2. Check transmission oil:


M86693

· Wipe all debris from around dipstick (A).

· Remove dipstick and observe oil level.

· Oil level must be to FULL mark on dipstick.

· If necessary, add oil until oil level is at FULL mark on dipstick. (see Gear Oil in this section for correct oil).

· DO NOT over fill. Level must not exceed FULL mark.

· Install and tighten dipstick.

Changing Transmission Oil

c CAUTION: Avoid injury! DO NOT touch engine or tiller drive parts which are hot from operation.

Service Interval: Drain and refill transmission after first 25 hours of operation or at the end of first season, whichever comes first, thereafter change oil only if repair parts are installed or you see contaminant's in the oil.

1. Run engine and tiller just prior to changing oil. Oil will flow more freely and carry away more contamination when warm.

2. Place tiller on a flat, level surface.

3. Drain transmission oil:


M88106

· Place a shallow drain pan below drain plug (B).

· Remove oil drain plug (B).

· After oil has completely drained, install oil drain plug securely.

4. Add oil:

· Wipe all debris from around dipstick (A).

· Remove dipstick.

NOTE: See Gear Oil in this section for proper type of oil.

· Add clean fresh oil through dipstick hole.

· Approximate transmission capacity is 1 L (36 oz.).

5. Check transmission oil:

· Install and remove dipstick and observe oil level.

· Oil level must be to FULL mark on dipstick.

· If necessary, add oil until oil level is at FULL mark on dipstick.

· DO NOT over fill. Level must not exceed FULL mark.

· Install and tighten dipstick.

Checking Tiller Gearbox Oil Level

c CAUTION: Avoid injury! DO NOT touch engine or tiller drive parts which are hot from operation.

IMPORTANT: Avoid damage! Serious damage can be caused to your gearbox if it is allowed to run for even a short time without proper amount of oil.


Service Interval: Check gearbox oil level every 5 hours of operation or at start of tilling season (yearly).

1. Place tiller on a flat, level surface.

2. Check gearbox oil:


M86694

· Wipe all debris from around plug (A).

· A correct oil level; oil should run out of filler hole or up to filler hole.

· If necessary, add oil. (see Gear Oil in this section for correct oil).

Changing Gearbox Oil

c CAUTION: Avoid injury! DO NOT touch engine or tiller drive parts which are hot from operation.

Service Interval: Drain and refill gearbox after first 25 hours of operation or at the end of first season, whichever comes first, thereafter change oil only if repair parts are installed or you see contaminant's in the oil.

1. Run engine and tiller just prior to changing oil. Oil will flow more freely and carry away more contamination when warm.

2. Place tiller on a flat, level surface.

3. Drain gearbox oil:


M88107

· Place a shallow drain pan below one lower cap screw and lock washer (B) that mounts bearing flange.

· Remove cap screw and lock washer (B).

· After oil has completely drained, install cap screw and lock washer securely.

4. Add oil:

· Wipe all debris from around plug (A).

NOTE: See Gear Oil in this section for proper type of oil.

· Add clean fresh oil through plug hole (A).

· Approximate gearbox capacity is 236 mL (8 oz.).

5. Check gearbox oil:

· Wipe all debris from around plug (A).

· A correct oil level; oil should run out of filler hole or up to filler hole.

· If necessary, add oil.

Lubricating Handlebar Swivel

IMPORTANT: Avoid damage! DO NOT over lubricate or use grease on the handlebar swivel mechanism. Dirt and dust will tend to collect on any exposed lubricated parts.


Service Interval: Lubricate handlebar swivel as needed.


M86685

Handlebar Swivel Lock (A): Lightly oil locking pivot. Lock should easily be unlocked from operator's station and should return by spring force. Wipe off any excess oil.

Handlebar Swivel (B): Lightly oil swivel base. Handlebars should swivel smoothly and with little effort. Wipe off any excess oil.

Lubricating Drive Wheels

Service Interval: Lubricate drive wheel axles on a yearly basis.

1. Raise and support tiller so that drive wheels are off the ground.


M88111

2. Remove locknut and bolt (A).

3. Remove drive wheel.

4. Lubricate axle and inside of drive wheel hub with a general purpose grease or oil. This lubrication is to prevent rusting and seizing.

5. Install drive wheels with traction ARROW pointing forward as shown on the tire sidewall.

6. Install and tighten hardware.

Lubricating Tine Shafts

Service Interval: Lubricate tine shafts on a yearly basis.


M88085

1. Remove locknuts and bolts (A) to remove outer tines.

1. Remove locknuts and bolts (B) to remove inner tines.

2. Lubricate tine shafts and inside of tine hubs with a general purpose grease or oil. This lubrication is to prevent rusting and seizing.

3. Install tines with the cutting edges pointing towards the front of the tiller.

4. Install and tighten hardware.

Lubricating Drive Idler Sheaves

IMPORTANT: Avoid damage! · DO NOT over lubricate or use grease on the idler sheaves. Dirt and dust will tend to collect on any exposed lubricated parts.

· Be careful, sharp edges on idler sheaves. If necessary, wear gloves when working with idler sheaves.


Service Interval: Lubricate drive idler sheaves every 25 hours of operation or yearly, or more often under extremely dirty, dusty conditions.


M86695

1. Remove cap screw (A) and belt cover (B).

2. Lightly oil bearings on (forward drive belt) idler sheave and idler arm pivots (A).

· Idler sheave should spin freely.

· Idler arm should pivot smoothly and return to the disengaged position by spring force.

· Wipe off any excess oil.


M88100

3. Lightly oil bearings on (reverse drive belt - stationary idler) idler sheave (B).

· Idler sheave should spin freely.

· Wipe off any excess oil.

4. Lightly oil bearings on (reverse drive belt) idler sheave and idler arm pivots (C).

· Idler sheave should spin freely.

· Idler arm should pivot smoothly and return to the disengaged position by spring force.

· Wipe off any excess oil.

5. Install belt cover and cap screw.

Fuel

c CAUTION: Avoid injury! Handle fuel with care, it is highly flammable:

· DO NOT refuel machine while you smoke, when machine is near an open flame or sparks, or when engine is running. STOP engine.

· Fill fuel tank outdoors.

· Prevent fires: clean oil, grease and dirt from machine. Clean up spilled fuel immediately.

· Do not store machine with fuel in tank in a building where fumes may reach an open flame or spark.

· To prevent fire and explosion caused by static electric discharge, while you fill tank, use a non-metal fuel container. If you use a funnel, MAKE SURE it is PLASTIC. Avoid using a funnel which has a metal screen or filter.

· Use only clean approved containers and funnels.

· Store oil and fuel in an area protected from dust, moisture and other contamination.

IMPORTANT: Avoid damage! Avoid spilling fuel. Fuel can damage plastic and painted surfaces.

DO NOT mix oil with gasoline. Unleaded gasoline with an octane rating of 87 or higher is recommended.

Fuel tank capacity is 3.8 L (4 Qts.).


· Use only clean, fresh, unleaded regular grade gasoline.

· Remove any trash from top of fuel tank drain area.

· Use summer blended fuel for warm weather operation and winter blended fuel for cold weather.

· Never use fuel that is stale or has been stored for a long period of time:

Warm Weather - Maximum 60 days.

Cold Weather - Maximum of 90 days.

· Fill fuel tank at the end of each day's operation. This helps to keep condensation out of fuel tank.

Oxygenated Fuel

Oxygenates (either ethanol or MTBE) are added to the gasoline. If you use the oxygenated fuel be sure it is unleaded and meets the minimum octane rating requirement.

The following are the EPA approved percentages of fuel oxygenates:

ETHANOL (Ethyl or Grain Alcohol): You may use gasoline containing up to 10 percent ethanol by volume.

MTBE (Methyl Tertiary Butyl Ether): You may use gasoline containing up to 15 percent MTBE by volume.

METHANOL (Methyl or Wood Alcohol): You may use gasoline containing up to 5 percent methanol by volume, as long as it also contains cosolvents and corrosion inhibitors to protect the fuel system. Gasoline containing more than 5 percent methanol by volume may cause starting and/or performance problems. It may also damage metal, rubber, and plastic parts of your fuel system.

Filling Fuel Tank

1. STOP engine. Allow engine to cool for two several minutes before refueling.


M86695

2. Remove fuel tank cap (A).

Approximate fuel tank capacity 3.8 L (4 Qts.)

3. Fill tank only to bottom of filler neck.

4. Install fuel tank cap.

5. Wipe off any spilled fuel.