John Deere

OMM141871

Issue D0

Sabre Yard and Garden Tractors

1948GV/HV, 2148HV, 2354HV

PIN (010001 - )

and 2554HV

PIN (025001 - )

Introduction

Product Identification

Safety

Operating

Replacement Parts

Service Interval Chart

Service Lubrication

Service Engine

Service Transmission

Service Mower

Avoid Injury From Contacting Blades

Removing Mower

Installing Mower

Replacing Mower Drive Belt

Adjusting Mower Drive Belt Tension

Servicing Mower Blades

Sharpening Blades

Balancing Blades

Service Electrical

Service Miscellaneous

Troubleshooting

Storing Machine

Assembly

Specifications

Warranty

Sabre by John Deere Quality Statement

Service Record

CopyrightŠ Deere & Company

All Manuals Close Window

Service Mower


Avoid Injury From Contacting Blades


MIF

c CAUTION: Avoid injury! Before you unplug, adjust or service mower:

- DISENGAGE PTO switch to stop mower blades.

- Wait for mower blades to STOP.

- LOCK the park brake.

- STOP the engine.

- Remove the key.

Clean unit by removing all grass clippings and dirt from mower deck.

Disconnect spark plug wire from spark plug.

Removing Mower

c CAUTION: Avoid injury! Before removing mower from machine:

STOP engine.

Remove key.

Wait for all moving parts to STOP.

Avoid injury from loaded spring: LOCK lift lever before removing mower.

Avoid injury from spring loaded rod: Make sure you have a tight grip on drive belt tension rod and release slowly.

1. STOP engine, LOCK park brake, push PTO switch down to DISENGAGE, turn key to the OFF position, and remove key.

2. Raise mower to TRANSPORT (upper) position using lift lever.


M88564

3. Set cutting height knob (A) to 25 mm (1 in.).

4. Put wood blocks under each side of mower.

5. Lower mower to MOWING (lower) position, bring deck down onto blocks.


M88579

Picture Note: 54-Inch Deck Shown

6. Release drive belt tension rod (B) from bracket (C).

7. Remove belt from engine drive sheave (D).


M88578

8. Pull out and push down on lever (E) to release front lift rod assembly (F) and remove from front of deck.


M88577

Picture Note: 54-Inch Deck Shown

9. Disconnect draft arms, one on each side, by pulling spring loaded J-pins (G) out.

10. Put mower lift lever in the TRANSPORT (upper) position.

11. Slide mower out from under the tractor.

Installing Mower

c CAUTION: Avoid injury! Before installing mower on machine:

STOP engine.

Remove key.

Wait for all moving parts to STOP.

Avoid injury from loaded spring: LOCK lift lever before installing mower.

Avoid injury from spring loaded rod: Make sure you have a tight grip on drive belt tension rod when installing.

1. STOP engine, LOCK park brake, push PTO switch down to DISENGAGE, turn key to the OFF position, and remove key.

2. Raise mower lift lever to TRANSPORT (upper) position.

3. Slide mower under the tractor and line up mower lift brackets with rear draft arms.

4. Put wood blocks under each side of mower.

5. Put mower lift lever in the MOWING (lower) position.


M88577

Picture Note: 54-Inch Deck Shown

6. Install rear draft arms, one on each side of tractor, to mower lift brackets with spring loaded J-pins (A).


M88578

7. Put front lift rod assembly (B) in slotted brackets (C) on mower deck and install the front lift rod assembly to the front of the tractor frame.

8. Push up on lever (D) and lock into tractor frame.


M88579

Picture Note: 54-Inch Deck Shown

9. Put mower drive belt (E) on engine drive sheave.

10. Push drive belt tension rod (F) into bracket (G).

11. Raise mower lift lever to TRANSPORT (upper) position.

12. Remove wood blocks from both sides of mower.

13. Level mower.

Replacing Mower Drive Belt

c CAUTION: Avoid injury! Before replacing mower drive belt:

STOP engine.

Remove key.

Wait for all moving parts to STOP.

Wear gloves when replacing belt.

1. STOP engine, LOCK park brake, push PTO switch down to DISENGAGE, turn key to the OFF position, and remove key.

2. Remove mower deck. (See Removing Mower in Removing Mower section.)


M88572

Picture Note: 54-Inch Deck Shown

3. Remove three cap screws and belt shields (A).


M88595

Picture Note: 48-Inch Deck Shown

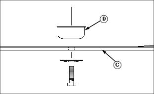
4. Put drive belt tension rod (B) in the released position as shown and disconnect idler spring (C).

5. Remove mower belt (D).

6. Clean upper mower deck and sheaves.

7. Inspect belt for wear or damage; replace as necessary.

8. Install belt (D) on mower deck as shown.

9. Connect idler spring (C).

10. Install two belt shields and fasten with three cap screws.

11. Install mower deck. (See Installing Mower in Installing Mower section.)

Adjusting Mower Drive Belt Tension

1. STOP engine, LOCK park brake, push PTO switch down to DISENGAGE, turn key to the OFF position, and remove key.

2. Remove mower deck.

3. Remove three cap screws and belt shields.


M88595

Picture Note: 48-Inch Deck Shown

4. Leave drive belt tension rod (A) in the open position.

5. Loosen nut (B) on flat idler.

6. Slide flat idler forward or back to get the desired belt tightness and tighten flat idler nut.

7. Install two belt shields and fasten with three cap screws.

8. Install mower deck.

Servicing Mower Blades

c CAUTION: Avoid injury! Be careful of sharp edges on mower blades. Always wear gloves when handling mower blades.

REMOVING MOWER BLADES

1. Raise mower deck to gain access to mower blades. If necessary, remove mower deck.

2. Using a wooden block, prevent mower blades from spinning.


M88116

3. Loosen cap screw (A).

4. Remove cap screw (A), round blade washer (B), blade (C) and deflector cup (D).

5. Inspect blades; sharpen/balance or replace as necessary.

INSTALLING MOWER BLADES

1. Lightly lubricate cap screw threads with a general purpose grease or oil. This lubrication is to prevent rusting and seizing.


M88112C

2. Install deflector cup (D) on spindle.

3. Position mower blade (C) with the cutting edge towards the ground onto the mower spindle.

IMPORTANT: Avoid damage! Some blade washers (B) have 2 index marks (E). When these blade washers are installed, the index marks must be visible. This will indicate that the cup side of the washer is toward the blade (C).



M88127A

4. Install blade washers (B) and make sure 2 index marks (E) are visible when installed.

5. Install and tighten cap screw (A) by hand until mower blade is in full contact (fully seated) with spindle.

6. With mower blade blocked, to prevent spinning, tighten cap screw (A) to 84 Nˇm (62 lb.-ft.).

Sharpening Blades

c CAUTION: Avoid injury! Wear goggles and gloves when you handle blades.

1. Sharpen blades with grinder, hand file or electric blade sharpener.


MIF

2. Keep original bevel (A) when you grind.

3. Blade should have 0.40 mm (1/64 in.) cutting edge (B).

Balancing Blades

c CAUTION: Avoid injury! Wear goggles and gloves when you handle blades.

1. Clean blade.


MIF

2. Put blade on nail in vise or on vertical wall stud. Turn blade to horizontal position.

3. If blade is not balanced, heavy end of blade will drop.

4. Grind bevel of heavy end. Do not change bevel.