John Deere

OMTCU16258

Issue A2

Lightweight Fairway Mower

3215B TURF SYSTEM I

3215B TURF SYSTEM I PIN (030001-)

3225B TURF SYSTEM II PIN (020001-)

3235B TURF SYSTEM II PIN (030001-)

Introduction

Product Identification

Safety

Operating Machine

Operating Cutting Units

Cleaning Cutting Units

Engaging Reel Drive

Adjusting Bed Knife-to-Reel (2500M)

Adjusting Height Of Cut Range (2500M)

Adjusting Front Roller Parallel with Bed Knife (2500M)

Adjusting Height of Cut (2500M)

Adjusting Cutting Unit Shield (2500M)

Removing and Emptying Grasscatchers (2500M)

Adjusting Height-Of-Cut After Servicing (22 ESP)

Height Of Cut Field Adjustment (22 ESP)

Adjusting Reel-To-Bed Knife Clearance (22 ESP)

Adjusting Grass Deflector (22 ESP)

Emptying The Grasscatchers (22 ESP)

Operating/Adjusting Vertical Cutters (22 ESP)

Adjust Reel Speed

Operating (Optional) Fairway Tender Conditioner

Adjusting (Optional) Fairway Tender Conditioner

Adjusting (Optional) Rear Roller Powered Brush

Operating and Adjusting (Optional) 2500M Vertical Cutters

Adjusting Cutting Unit Down Pressure (Optional For 3215B/3225B)

Replacement Parts

Service Intervals

Service Lubrication

Service Engine

Service Transmission

Service Cutting Units

Service Electrical

Service Miscellaneous

Troubleshooting

Storage

Assembly

Specifications

Warranty

John Deere Quality Statement

Service Record

CopyrightŠ Deere & Company

All Manuals Close Window

Operating Cutting Units


Cleaning Cutting Units

IMPORTANT: Avoid damage! Grease after washing to purge fittings and bearings of water.

Do not use high-pressure water to clean grass from reels.


1. Clean cutting units daily after use.

2. Wash grass clippings from reels using low-pressure water.

3. Grease cutting units.

Engaging Reel Drive

c CAUTION: Avoid injury! Always shut off cutting units when someone comes near the machine.

IMPORTANT: Avoid damage! Run engine at full throttle so cutting units can operate at correct speed.

Rear cutting units lower to ground and raise after front cutting units.



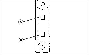
M79055

1. Push Lift/Lower lever (A) forward to lower cutting units.

2. Move the Mow/Transport lever (B) forward to mow (C) from transport (D). Shifting to MOW activates a switch so the cutting units automatically engage when lowered.

NOTE: In mow position (C), the Lift/Lower lever (A) needs only to be pushed down or pulled back all the way and not held, to lower or raise the cutting units.

In the transport position (D), the Lift/Lower lever needs to be held back all the way for the cutting unit to raise all the way to transport height.


M79055

3. To begin mowing, pull the Lift/Lower lever (A) back to the lift position.

4. Move the throttle lever forward to the r (fast) position.

5. Slowly begin forward travel.

NOTE: The four-wheel drive system (optional) engages when you are in mow (C). If you pull the lever back to transport (D), it changes to two-wheel drive.

6. Push Lift/Lower lever forward (E) to lower cutting units and start reel rotation.

ˇ Front cutting units lower to the ground before the rear units.

NOTE: While you are in mow position, the two cutting units on the front wings can no longer lift all the way up. They lift just enough to allow for turning.

7. As soon as the first cutting unit reaches the opposite edge of the fairway, pull back the Lift/Lower lever.

ˇ The cutting units will raise to mow lift height and automatically turn off.

8. When finished mowing, pull Mow/Transport lever (B) back to transport position. Hold Lift/Lower lever back to raise the cutting units to transport position.

9. Stop machine and let engine run for a short time to cool down engine.

Adjusting Bed Knife-to-Reel (2500M)

c CAUTION: Avoid injury! Always wear protective gloves when performing a service function on or near a cutting reel or bed knife. Severe injury can result from contact with sharp cutting edges.

IMPORTANT: Avoid damage! When adjusting bed knife-to-reel, lower and raise the bed knife evenly. Do not adjust more than one flat on the adjuster nut at a time, alternating side to side.


1. Remove cutting reels from machine.

2. Position cutting unit upright on workbench as shown.


M96838C

3. On both sides of cutting unit, loosen jam nut (A) and turn bed knife tower adjuster (B) counterclockwise until bed knife (C) is tight against cutting reel (D).


E35559

4. Slowly tighten tower adjuster (B) clockwise, alternating from side to side until bed knife begins to pull away from the cutting reel. Cutting reel should rotate freely.

NOTE: Make sure that the final adjustment to the bed knife is pulling the bed knife away from the cutting reel.

5. With the use of a feeler gauge, alternately turn adjusters (B) no more than one flat at a time until bed knife to reel clearance (E) measures 0.025 mm to 0.050 mm (0.001 in. to 0.002 in.).

6. Tighten jam nuts (A). Check the bed knife-to-reel clearance (E). Adjust again if necessary.

Adjusting Height Of Cut Range (2500M)

Adjust front roller brackets for the height of cut (HOC) range desired.

ˇ Select height-of-cut (HOC) adjustment range by adjusting the position of both front roller brackets.


M97431

ˇ Alignment of roller bracket (A) and cutting unit frame adjustment holes (B) on each side of the cutting unit will determine the HOC adjustment range.


M96838

ˇ Refer to chart for desired setting.

Height of Cut

(2-Inch Front Roller)

Roller Bracket Hole

Cutting Unit Frame Hole

mm

in.

0-9.5

0-3/8

Top (C)

Top (E)

6.4-16

1/4-5/8

Bottom (D)

Bottom (G)

12.7-22.0

1/2-7/8

Top (C)

Middle (F)


Height of Cut

(3-Inch Front Roller)

Roller Bracket Hole

Cutting Unit Frame Hole

mm

in.

12.7 - 22

1/2 - 7/8

Top (C)

Top (E)

19 - 28.5

3/4 - 1-1/8

Bottom (D)

Bottom (G)

25.4 - 32

1 - 1-1/4

Top (C)

Middle (F)


NOTE: For heights of cuts greater then 19 mm (3/4 in.), replace the rear HOC adjustment bolts with two 19m7385 (M10x70) bolts.

Adjusting Front Roller Parallel with Bed Knife (2500M)

c CAUTION: Avoid injury! Always wear protective gloves when performing a service function on or near a cutting reel or bed knife. Severe injury can result from contact with sharp cutting edges.

NOTE: Use of a bench plate or a two or three bolt height of cut gauge bar is recommended when adjusting front roller parallel with the bed knife.

Always adjust bed knife-to-reel before adjusting front roller for parallelism.

Always make parallelism adjustment after adjusting front roller height of cut range.

Parallelism Adjustment with Bench Plate

1. Position cutting unit upright on flat surface or workbench.


M97008

2. Loosen hex nut (A) and hex nut (B) on the left roller bracket.


M97254

3. Set bench plate on a level surface. Set cutting unit on top of bench plate (C). Bed knife (D) must rest firmly against plate stop (E) with cutting reel blade (F) on top of plate stop.


M97008


M97255

4. Rotate eccentric adjuster (G) until the front roller (H) sits flat and parallel with the bench plate. Gap (I) should not exceed 0.050 mm (0.002 in.) maximum.

5. Tighten left roller bracket hex nut (A).

6. Tighten left roller bracket hex lock nut (B).

Parallelism Adjustment with HOC Gauge Bar

1. Position cutting unit upright on flat surface or workbench.


M97008

2. Loosen hex nut (A) and hex nut (B) on the left roller bracket.

NOTE: HOC gauge bar should not contact the bottom of the rear roller.


M97424

3. Rest HOC gauge bar (C) approximately 51 mm
(2 in.) from the right end of the bed knife (D).

4. Hook the center gauge screw (E) on the edge of the bed knife. Hold end of gauge bar against the bottom of front roller (F).

5. Loosen wing nut (G). Turn lower gauge screw (H) clockwise until top of screw makes contact with flat edge of bed knife.

6. Tighten wing nut (G).

NOTE: HOC gauge bar should not contact the bottom of the rear roller.


M97425

7. Rest HOC gauge bar (C) approximately 51 mm
(2 in.) from the left end of the bed knife (D).

8. Hook the center gauge screw (E) on the edge of the bed knife. Hold end of gauge bar against the bottom of front roller (F).

9. Adjust position of front roller.

ˇ Rotate eccentric adjuster (I) until top of lower gauge screw (H) makes contact with the bed knife.

10. Tighten left roller bracket hex nut (A).

11. Tighten left roller bracket hex lock nut (B).

12. Check adjustment using HOC gauge bar.

Adjusting Height of Cut (2500M)

c CAUTION: Avoid injury! Always wear protective gloves when performing a service function on or near a cutting reel or bed knife. Severe injury can result from contact with sharp cutting edges.

1. Position cutting unit upright resting on the rear roller brackets.


M97257

2. On both sides of rear roller, loosen lock nut (A) just enough for the height-of-cut (HOC) bracket (B) to slide.

NOTE: If machine is equipped with the optional rear roller powered brush, the idler gear pivot lock nut and pivot bracket lock nuts must be loosened.


M97422, M97423

3. On the height of cut (HOC) gauge bar, set center adjustment bolt head (C) at the desired height of cut (D). Lock wing nut (E).


M97258

4. Rest HOC gauge bar against front roller (F) approximately 51 mm (2 in.) from the end of the bed knife. Set the inside of the bolt head (G) against the edge of the bed knife.

5. Turn tower adjuster (H) until the rear roller (I) contacts the HOC gauge bar. Repeat for the other side of the cutting reel.

6. Check HOC adjustment setting from side to side and adjust if necessary. Tighten lock nut (A) on both sides of cutting unit.

Adjusting Cutting Unit Shield (2500M)

NOTE: Keeping the shield close to the cutting blades improves the performance of the grass catcher in most conditions.


M97430

1. Loosen two bolts (A) and lock nuts on each side of cutting unit.

2. Raise or lower shield (B) to desired position.

ˇ Maintain an approximate 1.5 mm (0.06 in.) clearance between the bottom of the shield and the top of the cutting blades.

3. Tighten bolts.

Removing and Emptying Grasscatchers (2500M)


MX4934

Picture Note: Top photo shows grasscatcher installed onto the frame assembly.


MX4935

1. Pull back on the release catch hook (A).

2. Lift and remove basket (C) from catcher bracket support hook (B).

3. Remove basket (C) from catcher bracket support hook (B) and empty.

4. Install grass catcher onto the frame assembly.

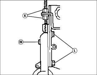
Adjusting Height-Of-Cut After Servicing (22 ESP)

c CAUTION: Avoid injury! Do not service or adjust cutting units while the engine is running. Shut off engine prior to making any adjustments.

Always wear protective gloves when working on or near the reel or bed knife.

Never allow more than one person at a time to work on any one cutting unit. Never allow adjustments to be accomplished on more than one cutting unit at the same time.

IMPORTANT: Avoid damage! All cutting units must be set at the same height to obtain an even cut. Never adjust rollers so that there is more than 1.6 mm (1/16 in. or one notch) difference between front and back rollers or cutting geometry will be affected. Floating units will not provide a quality cut in grass over approximately 38 mm (1-1/2 in.) tall.


NOTE: The following procedure is to be used for initial setup, HOC fine tuning or after servicing the cutting unit. For quick field adjustments, see Height-of-Cut Field Adjustment in this section.

1. Raise cutting units to RFS position.

2. Shut off engine and lock park brake.

3. Adjust reel-to-bed knife before adjusting HOC.


M46861

4. Adjust Height of Cut Range:

NOTE: Height of Cut has two general height settings (3/8 in. to 1-5/8 in.) and (1-1/2 in. to 3-1/2 in.). Adjusters must be installed with carriage bolt in top hole (A) (stud end) for HOC lower than 1.5 inches, and the bottom hole (B) for HOC greater than 1.5 inches.


M46876

ˇ If HOC range needs to be changed, loosen nut (C). Remove nut and washer (D) and two bolts (E) and position the carriage bolt in the correct hole for the cutting height range desired.

5. Set Gauge Bar:

NOTE: Using a single-bolt adjusting gauge bar will not insure parallelism between rollers and may result in uneven height of cut. If rollers are adjusted to a position so gauge bar cannot be installed, raise either the front or rear roller or both to allow installation of the gauge bar.


M47195

a. To adjust to less than 1.6 mm (1/16 in.) or check for parallelism, loosen wing nut (F) on gauge bar bolt. Set height of cut by measuring from the top of the gauge to the bottom of the head of the bolt (G). Lock wing nut (F).


M56227

b. Hook head of bolt (G) over edge of bed knife. (Cutting unit is upside down for photo clarity.)


M47250

c. Loosen wing nut (F). Turn bolt (H) until gauge is parallel with bed knife. Measure distance between front (I) and rear (J) of the bottom of the bed knife to top of gauge. Distance should be the same at both points.

6. Adjust Rear Roller Assembly:

NOTE: Set rear roller first and then adjust front roller. Rear rollers come from factory set and leveled at 3/4 in. cut. To avoid binding mechanisms, make small adjustments on each end of the roller.


M56472

a. Loosen bolts (L) and adjustment nuts (K) (both sides) on the rear roller and center the bolts in the slots. Tighten bolts and adjustment nuts.

b. To adjust roller in 1.6 mm (1/16 in.) increments, loosen nut (M) (both sides) to allow positioning the roller as close to the gauge bar as possible without touching it. Tighten nuts (K). Ensure the same number of rachet teeth are exposed at each end of the roller.

c. To adjust height of cut to less than 1.6 mm (1/16 in.), loosen bolts (L) and turn adjustment nuts (K) alternately until roller just touches the gauge bar. This is determined by turning the roller and listening for the scratching sound from roller on gauge bar. Repeat on opposite end. Recheck the adjustment for the opposite side and readjust if necessary.

d. Tighten all hardware and recheck with gauge bar to ensure setting did not change.

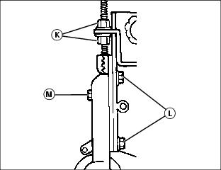
7. Adjust Front Roller Assembly:

NOTE: Set rear roller first and then adjust front roller. To avoid binding mechanisms, make small adjustments on each end of the roller.


M56472

a. Loosen bolts (L) and adjustment nuts (K) (both sides) on the rear roller and center the bolts in the slots. Tighten bolts and adjustment nuts.

b. To adjust roller in 1.6 mm (1/16 in.) increments, loosen nut (M) (both sides) to allow positioning the roller as close to the gauge bar as possible without touching it. Tighten nuts (K). Ensure the same number of rachet teeth are exposed at each end of the roller (should match rear roller setting).

c. To adjust height-of-cut to less than 1.6 mm (1/16 in.), loosen bolts (L) and adjustment nuts (K) and turn adjustment nuts (K) alternately until roller just touches the gauge bar. This is determined by turning the roller and listening for the scratching sound from roller on gauge bar. Repeat on opposite end. Recheck the adjustment for the opposite side and readjust if necessary.

d. Tighten all hardware and recheck with gauge bar to ensure setting did not change.

Height Of Cut Field Adjustment (22 ESP)

c CAUTION: Avoid injury! Do not service or adjust cutting units while the engine is running. Shut off engine prior to making any adjustments.

Always wear protective gloves when working on or near the reel or bed knife.

Never allow more than one person at a time to work on any one cutting unit. Never allow adjustments to be accomplished on more than one cutting unit at the same time.

NOTE: Use the following procedure to make quick routine changes in height of cut. For necessary adjustments after servicing the cutting units or to adjust HOC for less than 1.6 mm (1/16 in.), see Adjusting Height Of Cut After Servicing in this section.

IMPORTANT: Avoid damage! Never adjust rollers so that there is more than 1.6 mm (1/16 in. or one notch) difference between front and back rollers or cutting geometry will be affected.


1. Lower cutting units and shut off engine. Lock park brake.


M56472

2. Loosen nut (A) on both sides of roller. Move roller adjusters (B) up or down for height selection. Adjusting one roller one notch adjusts the HOC 1.6 mm (1/16 in.). Adjusting front and rear rollers both one notch will change HOC 3.2 mm (1/8 in.).

Adjusting Reel-To-Bed Knife Clearance (22 ESP)


M56226

c CAUTION: Avoid injury! Always wear protective gloves when working on or near the reel or bed knife. Severe personal injury can result from contact with the sharp cutting edges.

Manually rotating one reel can cause another reel to rotate.

NOTE: Each flat on the adjustment nut represents 0.025 mm (0.001 in.) movement of the reel. The lower nut (B) will lower the reel when turned counterclockwise and the upper nut (A) will raise the reel when turned clockwise (as viewed from the top of the unit).


M47200

1. Adjust the ends of the reel to set clearance with a 0.05 mm (0.002 in.) feeler gauge.

2. Inspect the entire length of the bed knife with a 0.102 mm (0.004 in.) feeler gauge.

ˇ It should not go in anywhere. If so, go to Step 4.

ˇ If the reel is making contact anywhere, go to Step 3.

NOTE: Always rotate the reel in the reverse direction to avoid damaging or dulling the cutting edges of the reel or the bed knife.

3. Slowly rotate the reel backwards watching for contact between the reel and the bed knife at the center of the bed knife.

ˇ If contact is made, grind the reel and bed knife to eliminate the "frown" in the bed knife or the out-of-round condition of the reel.

4. Measure the clearance at the center of the bed knife.

ˇ If the clearance exceeds 0.102 mm (0.004 in.), grind the reel and bed knife to eliminate the "smile" in the bed knife or the out-of-round condition of the reel.

5. When adjusted and sharpened correctly, each reel blade should cut a single piece of newspaper held at 90° to the top surface of the bed knife along the entire length of the bed knife. Reel should not make contact with bed knife with 0-0.05 mm (0-0.002 in.) maximum clearance. If not, grind reel and bed knife as necessary.

Adjusting Grass Deflector (22 ESP)

NOTE: Front discharge of grass clippings will minimize grass clumps on fairway.

For front discharge:


M56238

ˇ Position deflector (A) in down position.

NOTE: Install rod (C) in hole so bent end is opposite the cutting unit motor.

ˇ Place rods (B) and (C) in holes and secure with pull pins.

For rear discharge:

1. Remove rod (C).


M56237

2. Rotate deflector (A) to up position.

3. Install rod in upper hole (D) and secure with pull pin.

For maximum rear discharge opening:


M57577A

ˇ Remove both rods holding deflector and move the deflector (A) to raised position. Place rods through holes (E and F) and secure with pull pins.

Emptying The Grasscatchers (22 ESP)

1. Stop machine on a level place and lock park brake.

2. Pull Mow/Transport lever back to transport, but leave units raised with the front wing units level.

3. Stop engine.

4. Wait until all moving parts have stopped.


M85456

5. For rear cutting units, pull the bent pin (A) just enough to rotate the rear cutting units.

6. Release the catcher hook (B) and remove basket.

7. Place one hand on top of the basket and the other hand in the back (C) of the basket to remove basket.

IMPORTANT: Avoid damage! Do not let leg of pin (A) go into channel (D).



M85476

8. Place the grasscatcher basket back onto the yoke and turn the cutting unit forward to the mowing position. The pin (A) will fall back into place and lock the cutting unit in its forward facing position.

9. Release the catch hook to remove basket for the front three cutting units.

Operating/Adjusting Vertical Cutters (22 ESP)

c CAUTION: Avoid injury! Always wear protective gloves when working on or near the reel or bed knife. Severe personal injury can result from contact with the sharp cutting edges.

Manually rotating one reel can cause another reel to rotate.

IMPORTANT: Avoid damage! Vertical cutting units are intended for thatch removal and should not be set for ground engagement. Always use front rollers with the vertical cutting units. The cutters should not be set to penetrate the soil.


NOTE: Installation of optional Oil Cooler and Scalping Motors are recommended for use with the Vertical Cutters.

IMPORTANT: Avoid damage! Do not operate the cutting units in a "stalled" mode. This will cause excessive heating of the hydraulic oil.


1. Adjust mow speed limit to no more than 4.8 km/h (3 mph). The mow speed should be set properly to insure that the reels do not stall out completely.

2. Adjust blade depth flush with the bottom of the rollers.

ˇ The depth can be increased as needed from this point to achieve desired results. Do not exceed a blade depth of 1.5 mm (0.06 in.).

IMPORTANT: Avoid damage! Adjust both ends of the roller evenly to avoid binding the adjustment mechanism.


NOTE: Before making adjustment, measure the usable blade length of the cutting blades. If the usable blade length is less than the desired cutting depth, replace blades before continuing.


M56536

3. Adjust cutting depth, mark the desired cutting depth (A) on a gauge bar.

4. Place the gauge bar across the front and rear rollers approximately 50 mm (2 in.) in from the end of the rollers.

5. Adjust the front roller height to bring the leading edge (B) of the cutting blade with the mark on the gauge bar. Rotate reel back and forth to ensure blade tip does not extend beyond depth mark.

6. Adjust pivot arms to raise or lower the cutting blades, if desired depth cannot be achieved with roller adjustment.


M60711

7. If vertical cutter cannot be adjusted because of wear, move rear adjuster bolts to top holes (C).


M60713

8. Adjust front adjuster bolts in slot (D) evenly on both ends of cutting unit as necessary.

IMPORTANT: Avoid damage! Using the vertical cutters produces excessive dust and fine grass particles in the air. Check radiator screen frequently to avoid engine overheating. Air cleaner may also need to be changed more frequently. Check air restriction indicator.


9. For excess thatch conditions, several trips across the area to be thatched may be necessary. Do not attempt to remove large amounts of thatch in a single cutting.

Adjust Reel Speed

IMPORTANT: Avoid damage! It recommended to use the highest speed necessary to avoid marcelling. Reduced reel speed may help reduce bed knife and reel wear.


1. Park fairway mower on a hard, level surface.

2. Stop engine and engage park brake.


MX3574

3. Locate reel speed control knob (A) on the left side of machine.

NOTE: Variances in reel speed may occur when knob settings are equal. Use a reel tachometer to verify that the front and rear reels are turning at the same speed for the same knob settings.

4. Adjust reel speed:

ˇ Reel speed can be adjusted depending on the type of application for the fairway mower, which type of cutting units are used, and grass height and conditions.

ˇ It may be appropriate to reduce reel speed when cutting taller grass to prevent grass from being blown over and not being cut. Faster reel speeds with dry grass may cause grass clippings to be thrown over the grasscatcher.

ˇ For mowing fairways, set the speed control knob (A) to the highest setting fully to the left (counterclockwise) for best cutting performance.

ˇ For mowing roughs, reel speed may be reduced by turning the speed control knob to the right (clockwise).

Operating (Optional) Fairway Tender Conditioner

IMPORTANT: Avoid damage! Help prevent dulling of blades. Do not use Fairway Tender Conditioner (FTC) for three days following top dressing.


The conditioner process involves shallow vertical cutting. The blades are adjusted to cut runners and lift horizontal leaf material. It is important that frequent and thorough observations be performed or stress to the plants may occur. Make adjustments as necessary.

IMPORTANT: Avoid damage! The initial setting should be the same as Height Of Cut to prevent damage to the turf.

For a deeper cut, set approximately 0.79 mm
(.032 in.) below Height Of Cut.

The maximum distance the FTC should be set below HOC should be 2.34 mm (3/32 in.)


NOTE: It is normal for grass catchers to fill faster when conditioning.


M97455

1. Condition fairways the first time with blades set the same as Height of Cut. Closely examine each fairway and note any inconsistencies or appearance of over-aggressiveness. Decrease FTC penetration if necessary.

2. Check each fairway 1-2 hours after cutting. Look for any tendency toward a yellow or brown tint. This indicates over-stress.

3. If visible stress is observed, decrease FTC penetration to 0.39 mm (.016 in.).

4. Continue cutting/conditioning at this setting for three to five days. Check frequently for stress.

5. If no stress is observed, increase FTC penetration by 0.25 mm (0.010 in.). Check for obvious over-aggressiveness. Observe for two to three days, watching for signs of stress.

6. Repeat Step 5, until stress becomes visible. Back off the FTC adjusted penetration by 0.25 mm (0.010 in.).

NOTE: Stress is a cumulative result of many factors such as irrigation, temperature, humidity, chemical application, disease, thatch, etc.

Conditioning aggressiveness will require adjustment and monitoring as these factors vary.

Conditioning frequency may also need to be reduced in some cases.

Adjusting (Optional) Fairway Tender Conditioner

NOTE: Height Of Cut must be adjusted prior to adjusting the Fairway Tender Conditioner.


M97460

1. Engage FTC adjuster stops.


M97459

ˇ Press down on FTC adjuster bolts (A).

ˇ Swing adjuster stops (B) around toward the front of the cutting unit.

2. Position cutting unit for making height of cut adjustment.


M44324

3. Set FTC adjustment screw (C) on the gauge bar to the desired operating height.

ˇ Adjustment screw (D) may need to be loosened so that the gauge bar can rest on both the front and rear rollers.

4. Place preset gauge bar on cutting unit. Hook height of cut screw (E) on bed knife. The ends should rest firmly on the front and rear rollers.


M97459

5. Loosen adjuster lock nut (F) on both ends of the cutting unit.

6. Turn adjuster bolt (A) to raise or lower FTC roll. Alternate from end to end until the teeth touch the screw on the gauge bar. Tighten adjuster lock nuts.

7. Remove gauge bar.


M97456

8. Engage GTC clutch.

ˇ Pull knob (G). Turn knob clockwise to the "run" position. Knob must engage detent (H).

9. Disengage GTC clutch:

ˇ Turn knob counterclockwise to the "off" position. Knob must engage detent (I).


M97459

10. Disengage FTC adjuster stops.

ˇ Press down on FTC adjuster bolts (A).

ˇ Swing adjuster stops (B) around toward the rear of the cutting unit.

Adjusting (Optional) Rear Roller Powered Brush

NOTE: It is not necessary to remove the brush cover to adjust the powered brush.


M97975

1. Loosen idler gear pivot lock nut (A).

2. Loosen both pivot bracket lock nuts (B).

3. Loosen two flange head cap screws (C) on left side of cutting unit.


M97976

4. Loosen two flange head cap screws (D) and nylock nuts (E) on right side of cutting unit.

NOTE: The brush bristles should just barely clear the full length of the roller. The gap between the brush bristle tips and the roller should be approximately 1 mm (1/32 in.).


M97973

5. Slide the rear roller powered brush (F) up or down to adjust the roller.

6. Tighten flange head cap screws (C) on left side of cutting unit and flange head cap screws (D) and nylock nuts (E) on right side of cutting unit.

7. Tighten both pivot bracket lock nuts (B) and the idler gear pivot lock nut (A).

Operating and Adjusting (Optional) 2500M Vertical Cutters

c CAUTION: Avoid injury! Always wear protective gloves when working on or near the cutting reel, bed knife, or blades. Manually rotating one cutting reel can cause another blade or cutting unit to rotate. Severe personal injury can result from contact with the sharp cutting edges.

IMPORTANT: Avoid damage! Do not use the backlap valve to operate the vertical cutting units in the reverse direction on the Model 3215B Lightweight Fairway Mower. Using the backlap valve to operate the vertical cutting units in a reverse rotational direction will cause serious damage to the hydraulic motors. If reverse rotation direction is desired, the hydraulic hoses on the motors must be switched in order to obtain full reverse rotational speed for the vertical cutting units. No hose routing changes are needed if the vertical cutting units are operated in the forward rotational direction.


IMPORTANT: Avoid damage! Using the vertical cutters produces excessive dust and fine grass particles in the air. Check the rear grill screen, air cleaner element and air restriction frequently to avoid engine over heating.



M97979

NOTE: Vertical cutting units (A) are intended for thatch removal and should not be set for ground engagement. The cutters should not be set to penetrate the soil.

For excess thatch conditions, several trips across the green may be necessary. Do not attempt to remove large amounts of thatch in a single cutting.

IMPORTANT: Avoid damage! Do not operate cutting units in a "stalled" mode. Doing so will cause excessive heating of the hydraulic oil. Mow speed must be reduced or vertical cutter penetration into the turf must be reduced.


ˇ Adjust mow speed limit to no more than 4.8 km/h
(3 m.p.h.). The mow speed should be set properly to insure that the cutting reels do not stall out completely.

ˇ Initial adjustment of blade depth should be flush with the bottom of the rollers. The depth can be increased as needed from this point to achieve desired results. Do not exceed a blade depth of 3 mm (.12 in.).

ˇ Before making a vertical cutter adjustment, measure the usable blade length of the cutting blades. If usable blade length is less than the desired cutting depth, replace blades before continuing.

Adjusting Cutting Depth


M97980

1. Mark the desired cutting depth (B) on a gauge bar (C).

2. Place the gauge bar across the front and rear rollers approximately 50 mm (2 in.) in from the end of the rollers.

3. Loosen locknut (D) on each side of the cutting unit.

4. Adjust position of rear roller.

ˇ Turn each tower adjuster (E) until leading edge of vertical cutting blade aligns with the cutting depth mark on the gauge bar.

ˇ Rotate cutting reel back and forth to ensure blade tip does not extend beyond the depth mark.

ˇ Check both ends of cutting reel until they are adjusted to the same setting.

ˇ If the vertical cutter cannot be adjusted because of wear, replace the blades and then adjust to the correct depth.

5. Tighten lock nuts (D).

NOTE: Adjustment of rubber flap height will depend on turf conditions.

ˇ On short turf, lower the flap to prevent material from flying out the rear of the cutting unit.

ˇ On turf with a lot of thatch, raise the flap to allow the removed thatch to exit out the rear of the cutting unit.


M97981

6. Adjust cutting unit rubber flap (F).

ˇ Loosen three carriage bolts (G) and hex nuts.

ˇ Adjust the flap approximately 13 mm (1/2 in.) up from the bottom of the rollers.

ˇ Tighten hardware.

7. Repeat procedure for other cutting units.

Adjusting Cutting Unit Down Pressure (Optional For 3215B/3225B)

IMPORTANT: Avoid damage! Adding down force to cutting unit will decrease traction capability.


Lightweight Fairway Mower theoretical down pressure reading versus down force exerted at the cutting unit.

Pressure at down pressure valve

Down force at cutting unit

29 kPa (200 psi)

93 N (21 lb)

44 kPa (300 psi)

142 N (32 lb)

58 kPa (400 psi)

187 N (42 lb)

73 kPa (500 psi)

236 N (53 lb)

87 kPa (600 psi)

285 N (64 lb)

102 kPa (700 psi)

334 N (75 lb)